Burner apparatus for cement kiln and method for operating same
(22) 06.09.2019
(43) 02.04.2020
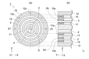
(57) Provided is a burner apparatus for a cement kiln, which strongly forms a floating state of combustible solid waste in the cement kiln, and easily ignites the combustible solid waste in a floating state; provided also is a method for operating the burner apparatus. The burner apparatus of the present invention comprises: a solid powder fuel flow path provided with a solid powder fuel flow swirling means; a first air flow path that is disposed inside the solid powder fuel flow path and adjacent thereto and provided with an air flow swirling means; a second air flow path that is disposed (…).
(71) Taiheiyo Cement Corporation, Tokyo (JP)
