Cement kiln burner device and method of operating
(22) 19.03.2019
(43) 24.09.2020
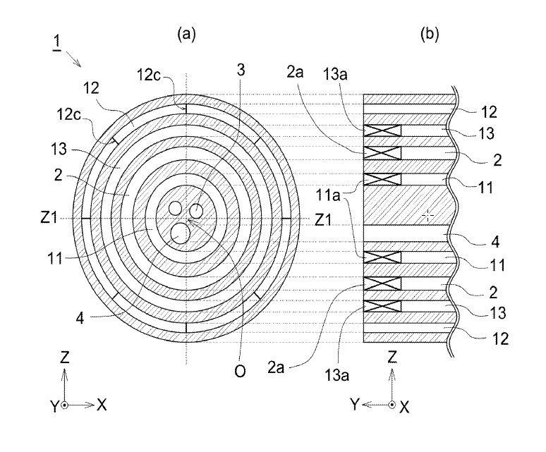
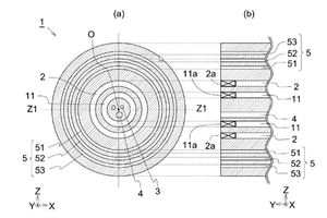
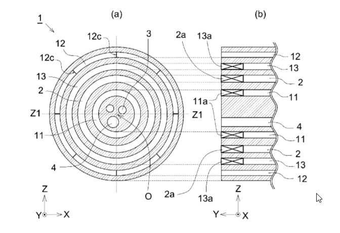
(57) Provided is a cement kiln burner device that can freely form a desired combustion state according to the fuel used during an operation. The present invention relates to a cement kiln burner device including a plurality of flow channels partitioned by a plurality of concentric cylindrical members, the cement kiln burner device comprising: a solid powder fuel flow channel; an outer air flow channel group that includes a first air flow channel disposed adjacent to and inside the solid powder fuel flow channel and including a swirling means for airflow, and three or more second air flow (…).
(71) Taiheiyo Cement Corporation, Tokyo (JP)
