Cement baking apparatus
(22) 07.08.2019
(43) 11.02.2021
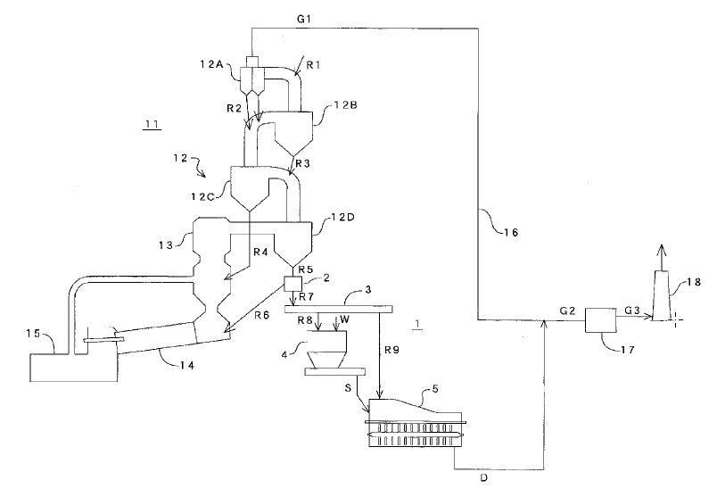
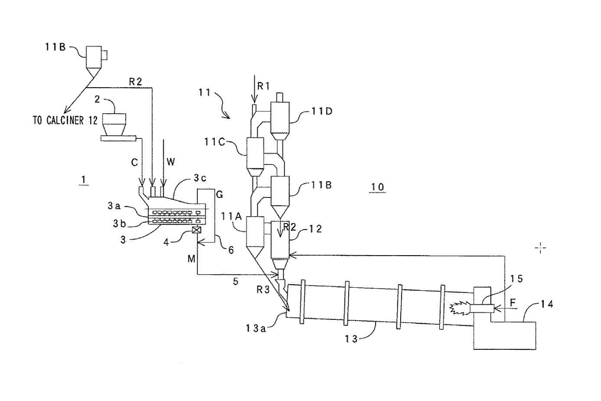
(57) [Problem] To efficiently combust combustible waste to thereby effectively utilize the same while maintaining a stable operation of a cement baking apparatus, and to shorten a work period in the case of remodeling an existing cement baking apparatus. [Solution] A cement baking apparatus 1 is provided with a tertiary air duct 6a which extends upward and then hangs down, a calcining furnace 3 the upper end of which is connected to the lower end of the hanging duct of the tertiary air duct, and a connecting duct 3a which connects the lower end of the calcining furnace to a rising duct (…).
(71) Taiheiyo Engineering Corporation, Tokyo (JP)
