WO 2019/166067 A1

Cooler

(22) 22.02.2019

(43) 06.09.2019

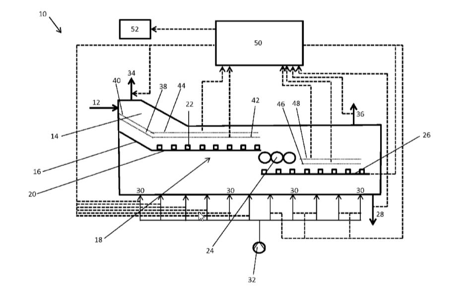
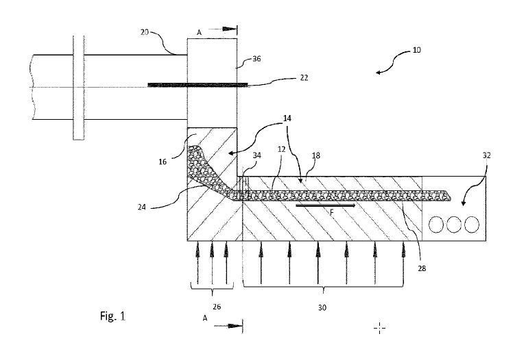
(57) The present invention relates to a cooler for cooling particulate material which has been subjected to heat treatment in an industrial kiln, such as a rotary kiln for manufacturing cement clinker. This cooler comprises an inlet, an outlet, end wall, side walls, a bottom and a ceiling, at least three reciprocating supporting lanes for receiving, supporting and transporting the material to be cooled, the lanes are moving following the walking floor principles as well as means for injecting cooling gas into the material through grate plates in the lanes. The present invention relates to an increasing in the vertical shearing height, and still having stationary clinker on top of the grate plates, see fig. 5. The length of the tilted element (16) is L and the distance (13) between two devices is G. The angle between the element (16) and horizontal is alfa (18). Since the air is distributed evenly from the full grate plate area it is obvious and understandable that the L*cosines(alfa) becomes a shadow area where all air from the region in the grate plate will go through the stationary clinker and leave the tip of L at this one point only. Again, it is not good for the heat recuperation to have a shadow area too big – as it, again, gives an uneven air flow through the clinker bed, damaging the heat recuperation. The vertical shearing height is on the other hand L*sinus(alfa). But if alfa becomes too large (approximately above 60 deg.), it will block the sliding effect, as now the clinker will not get forced over the plate’s L-part, and then the wished larger vertical shearing is not achieved. It is hereby a compromise to get a certain vertical shearing: L*sinus(alfa) by not having a too large shadow area L*cosines(alfa), but still having the angle alfa so low that the clinker will slide at L – see fig. 5.

(71) Føns Companies ApS, Glenstrup Søvej 1, 8990 Faarup (DK)

Related articles:

Issue 2/2021 US 2021/0003346 A1

Cooler

(22) 22.02.2019(43) 07.01.2021(57) The present invention relates to a cooler for cooling particulate material which has been subjected to heat treatment in an industrial kiln, such as a rotary kiln...

more
Issue 7-8/2020 WO 2020/053100 A1

Cooler for cooling clinker and method for operating a cooler for cooling clinker

(22) 06.09.2019(43) 19.03.2020(57) The present invention relates to a method for operating a cooler (10) for cooling clinker, in particular of a cement making plant, comprising the steps of conveying...

more
Issue 04/2024 KR 20240053196 A

Hydrogen production system using waste heat of cement clinker production process

(22) 17.10.2022(43) 24.04.2024 (57) The present invention relates to a hydrogen production system. More specifically, it relates to a hydrogen production system using waste heat generated in the...

more
Issue 8/2021 WO 2021/180723 A1

Cooler for cooling bulk material, in particular cement clinker

(22) 09.03.2021(43) 16.09.2021(57) The present invention relates to a cooler (10) for cooling bulk material (12), in particular cement clinker, having a cooling-gas space (14), through which a stream...

more
Issue 1/2023 WO2022248384 (A1)

Method and device for producing cement clinker

(22) 23.05.2022(43) 01.12.2022(57) The present invention relates to a method for producing cement clinker (50), said method comprising the steps of: preheating raw material (20) in a preheater (12),...

more
×