Encapsulated fluid-loss additives for cement compositions
(22) 21.07.2014
(43) 28.01.2016
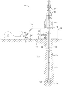
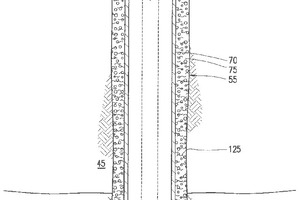
(57) Disclosed are methods and compositions for cementing in a subterranean formation. An example method of cementing comprises providing a cement composition comprising a hydraulic cement, water, and an encapsulated fluid-loss additive; wherein the encapsulated fluid-loss additive comprises a fluid-loss additive and an encapsulation material; placing the cement composition in a selected location; and allowing the cement composition to set.
(71) Halliburton Energy Services, Inc., 3000 N. Sam Houston Parkway E., Houston, Texas 77032-3219 (US)
(84) ARIPO (BW, GH, GM, KE, LR, LS, MW, MZ, NA, RW, SD, SL, SZ, TZ, UG, ZM, ZW), Eurasian (AM, AZ, BY, KG, KZ, RU, TJ, TM), European (AL, AT, BE, BG, CH, CY, CZ, DE, DK, EE, ES, FI, FR, GB, GR, HR, HU, IE, IS, IT, LT, LU, LV, MC, MK, MT, NL, NO, PL, PT, RO, RS, SE, SI, SK, SM, TR), OAPI (BF, BJ, CF, CG, CI, CM, GA, GN, GQ, GW, KM, ML, MR, NE, SN, TD, TG)
