Fine grit classifier
(22) 21.10.2019
(43) 22.04.2021
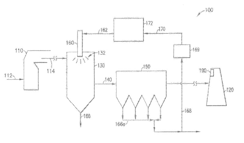
(57) A fine grit classifier for removing grit from a milk of lime slurry includes a settling tank for receiving the milk of lime slurry, means for creating turbulence inside the tank to promote grit settling, a launder for collecting milk of lime slurry from an upper portion of the settling tank and directing milk of lime slurry to an outlet, and an auger for transporting settled grit from the lower portion of the settling tank and discharging the settled grit.
(71) Christy Richard W (US)
