Dear Readers, Bauverlag, which has been based on the outskirts of Gütersloh not far from Bertelsmann‘s headquarters for quite some time, is moving. In the newly developing Kaiserquartier in the center ...
At its annual General Assembly in Brussels in June, Cembureau elected Isidoro Miranda, Managing Director of LafargeHolcim Spain, its new President, and Ken McKnight, Member of the CRH Executive...
The Portland Cement Association (PCA), representing America’s cement manufacturers, recently announced their newest honorary member, Dave Nepereny. Election to honorary membership in PCA is reserved...
Song Zhiping, President of the World Cement Association (WCA), urged the global cement industry to continue its efforts towards carbon neutrality, but also to advance digitalisation, in a keynote...
Cemex has announced that it is setting a new, more aggressive target to be below 475 kg CO2, an approximately 40% reduction in CO2 emissions, by 2030. This new goal is aligned to the Well Below Two...
HeidelbergCement has published its Sustainability Report for the 2020 financial year. On more than 100 pages, HeidelbergCement’s twelfth Sustainability Report provides detailed information about the...
FLSmidth has signed a global commercial partnership with UK-based Carbon8 Systems (C8S) to accelerate the cement industry’s Net Zero ambitions. Carbon capture is essential to achieve a sustainable...
thomas Zement, a division belonging to the thomas group with locations in Dornburg and Erwitte, is investing again at the Erwitte location as part of its modernization plan. In order to enable faster...
Cemex has announced that it has successfully closed the previously announced sale of its white cement business, including its Buñol cement plant in Spain, to Çimsa Çimento Sanayi Ve Ticaret A.S., for...
In 2021, the Dres. Edith and Klaus Dyckerhoff Foundation will award the Klaus Dyckerhoff Prize for young scientists for the first time. The prize will be awarded to: Scientific publications on the...
The highest Platinum rating (Zero Waste) under the ‘Zero Waste to Landfill’ standard was awarded to all of Titan’s cement plants in Greece – Kamari, Patra and Thessaloniki – in the context of the...
Since April 2021, Jerneja Potocnik (43), Florian Salzer (36) and Peter Ramskogler (38) have been responsible for the management of w&p Zement GmbH as directors. A goal of the trio is to make the...
Votorantim Cimentos, through its Spanish subsidiary Corporación Noroeste, has announced that it has entered into an agreement for the full acquisition of Cementos Balboa in Spain. Cementos Balboa has ...
As in the past two years, students at Leuphana University Lüneburg worked on two practical digital business projects for the building materials producer Holcim in the summer semester of 2021. This ...
Wonder Cement belongs to a family-owned company located in Udaipur/India, which is engaged in the cement sector in addition to a wide range of business activities.Since 2010, Gebr. Pfeiffer has ...
Holcim has launched its new Group identity unitingall its market brands behind its purpose to build progress for people and the planet. At the forefront of green building solutions, Holcim is...
This year’s IEEE-IAS/PCA Cement Industry Technical Conference was held completely virtually on May 24-28, 2021. The 63rd annual conference took place on The Aggregate 3D platform, where each...
For an economical and sustainable operation, the Austrian plant Retznei of Lafarge Zementwerke GmbH relies on alternative fuels and raw materials to ignite the new calciner. In order to transport,...
The present paper studies the breakage behaviour of clinker subjected to repeated impacts using a drop weight tester. The main aim of this study is to compare the effect of single and multiple impacts...
Based on the process layout characteristics of a classifier in a vertical roller mill, a method is firstly studied and designed to research and test a vertical roller mill classifier’s performance....
Compositions of composite gypsum binder with various active mineral additives have been developed by the authors. It is revealed that the introduction of additives in an optimal amount increases the...
More than just surveying and mapping missions: the utilisation of drones in open-cast mining permits extensive data surveys while, simultaneously, also contributing to safety. The new legal situation...
Mixed feed shaft kilns are in operation in many lime plants worldwide. Their operation causes very high CO and TOC emissions. Maerz High Performance Shaft (HPS) kilns verifiably emit less CO and TOC,...
Engineering safer conveyors is a long-term strategy. This article provides bulk material handlers with crucial information about safe conveyor system traits and construction. It is an in-depth look...
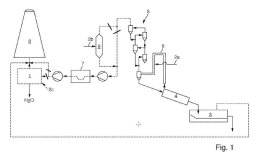
(22) 13.11.2020(43) 27.05.2021(57) A gypsum slurry dehydration system for dehydrating gypsum slurry discharged from a flue gas desulfurization apparatus comprises: a conveying device having a...
(22) 29.10.2020(43) 06.05.2021(57) A system and method for controlling operations of a cement kiln plant. The system comprises first and second processing logic. The first processing logic is...
(22) 23.12.2019(43) 06.05.2021(57) The present invention relates to an apparatus for decomposing and fixing greenhouse gases, the apparatus comprising a cement furnace, which, by gasification and...
(22) 23.10.2019(43) 28.04.2021(57) A method of grinding material, in particular a raw material mixture for firing clinker in mills, in particular ball mills, in a tubular ball mill with or without...
(22) 21.10.2019(43) 22.04.2021(57) A fine grit classifier for removing grit from a milk of lime slurry includes a settling tank for receiving the milk of lime slurry, means for creating turbulence...
(22) 18.04.2019(43) 27.05.2021(57) The invention relates to a calcium sulfoaluminate cement, whereby it contains at least 90% by weight % C4A3$ in crystalline or amorphous form or as a mixture of...
(22) 18.12.2020(43) 22.04.2021(57) Described are cementitious reagent materials produced from globally abundant inorganic feedstocks. Also described are methods for the manufacture of such...
(22) 28.02.2020(43) 06.05.2021(57) A method and system for producing low-alkalinity sulphoaluminate cement with a new mineral system using steel slag. The method includes the following steps: evenly...
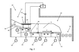
(22) 12.10.2020(43) 22.04.2021(57) The invention relates to a method for cooling bulk material, in particular cement clinker, in a cooler (10), having the steps of: – admitting bulk material (11) to...
(22) 17.03.2020(43) 28.04.2021(57) The present application relates to a method of determining the content of polymer microfibres in cement composites based on the utilisation of the buoyancy...
(22) 16.10.2020(43) 29.04.2021(57) A method of making a purified precipitated calcium carbonate from lime mud can include admixing a lime mud cake with water and sodium carbonate to form a first...
(22) 22.10.2020(43) 29.04.2021(57) This invention discloses a method for producing a flux/mineralizer for cement clinkering that contains CaF2 and other residues of fluoride salts. The...
(22) 05.10.2020(43) 15.04.2021(57) The invention relates to a method for the separation of water from the flue gas of clinker kiln installations and to a correspondingly designed clinker kiln...
(22) 14.09.2020(43) 24.05.2021(57) Field: building materials. Substance: invention relates to the field of building materials and can be used in the production of various concrete and mortar mixtures....
(22) 24.03.2014(43) 28.04.2021(57) (Abstract title:) A metal oxide cement containing naturally occurring silicate in an organic binder: A cement is disclosed, comprising: a naturally occurring...
(22) 12.06.2020(43) 17.12.2020(57) The invention relates to a method of handling ash from the combustion of municipal waste, i.e. mixed waste. In the method according to the invention, a cement-based...
(22) 29.06.2020(43) 30.12.2020 (57) Described are cementitious reagent materials produced from globally abundant inorganic feedstocks. Also described are methods for the manufacture of such...
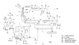
(22) 01.07.2020(43) 14.01.2021(57) This cement manufacturing system comprises: a suspension pre-heater for pre-heating a cement raw material; a calcining furnace for calcining the pre-heated cement...
The rapid pace of industrialization in recent years and the recent pandemic in 2020 and 2021 are leading companies to rethink their strategies with long-term sustainability measures, exploring new...
One of my all-time favourite songs is the exceptional piece of music art “Under Pressure” by the unforgettable David Bowie and Freddy Mercury. Best – and absolutely recommendable – is the live ...
Taiheiyo Engineering is based in Tokyo/Japan. The company offers a wide range of services: geological surveys, quarry planning and development works, cement plants and their components, building ...
Daijiro Suzuki explained to the Editor-in-Chief of ZKG Cement Lime Gypsum, Dr Petra Strunk, what Taiheiyo Engineering specializes in, which business areas have been developed in a particularly...