Installation for producing cement clinker and method
for operating such an installation
(22) 08.02.2018
(43) 30.08.2018
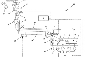
(57) The invention relates to a method for operating an installation (10) for producing cement clinker, said installation having a pre-heater (12) for pre-heating material (24), a kiln (22) for burning the material (24) to form clinker, said kiln having a drive device (30) for rotationally driving the kiln (22), and a cooler (38) for cooling the clinker exiting the kiln (22), the method having the following steps: determining the particle size distribution and/or the mass flow rate of the clinker and controlling, in an open-loop/closed-loop manner, at least one operating parameter of the pre-heater (12), of the kiln (22) and/or of the cooler (38) in accordance with the determined particle size distribution and/or the determined mass flow rate. The invention further comprises an installation (10) for producing cement clinker, said installation having a pre-heater (12) for pre-heating material (24), a kiln (22) for burning the material to (…).
(71) thyssenkrupp Industrial Solutions AG, ThyssenKrupp Allee 1, 45143 Essen (DE)
