Mixer and mixing method
(22) 26.08.2015
(43) 30.08.2018
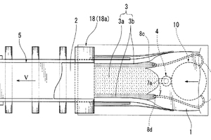
(57) A mixer has a circular housing defining a mixing area for mixing and kneading of a gypsum slurry. A rotary disc is positioned in the housing and rotated in a predetermined rotational direction. A rotary driving shaft cointegrally connected with the rotary disc and a plurality of scrapers are positioned in the mixing area. A slurry discharge port is provided on an annular wall of the housing for feeding the gypsum slurry of the mixing area onto a sheet of paper for gypsum board liner. An opening of the slurry discharge port is divided into a plurality of narrow openings, so that fluid resistance on the gypsum slurry flowing out of the mixing area is increased. An annular basal part rotates integrally with the rotary disc and an inner end portion of the scraper is fixed to the annular basal part.
(71) Yoshino Gypsum Co., Ltd., Tokyo (JP)
(73) Yoshino Gypsum Co., Ltd., Tokyo (JP)
