System and burner lance for additionally producing white cement
(22) 01.04.2019
(43) 17.10.2019
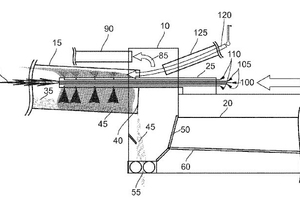
(57) The invention relates to a system for producing a cement clinker for the additional production of white cement, having a rotary kiln (15) for sintering lime-containing and silicate-containing raw meal (35) and optionally additional oxide in order to form the cement clinker (45), wherein a burner lance (25) is provided on the rotary kiln head (40) of the rotary kiln (15) in order to generate the necessary sintering temperature in the rotary kiln (15), and the burner lance (25) reaches into the rotary kiln (15). The system also has at least one line (110) for conducting cooling water (110) into the rotary kiln (15) in order to quench the sintered cement clinker (45) still in the rotary kiln (15). According to the invention, the burner lance (25) has at least one line (110) for conducting cooling water, and the line (110) for conducting cooling water opens in the region between the burner opening and the end of the rotary kiln head (40) and sprays cooling water onto the sintered cement clinker (45). By integrating the burner lance with the cooling water line, the burner lance is cooled and simultaneously the reductive conditions in the rotary kiln can be controlled more easily upon quenching.
(71) KHD Humboldt Wedag GmbH, Colonia-Allee 3, 51067 Köln (DE)
