An energy-efficient, carbon-enriched cement production system and a method of producing cement clinker
(22) 16.12.2020
(43) 01.02.2024
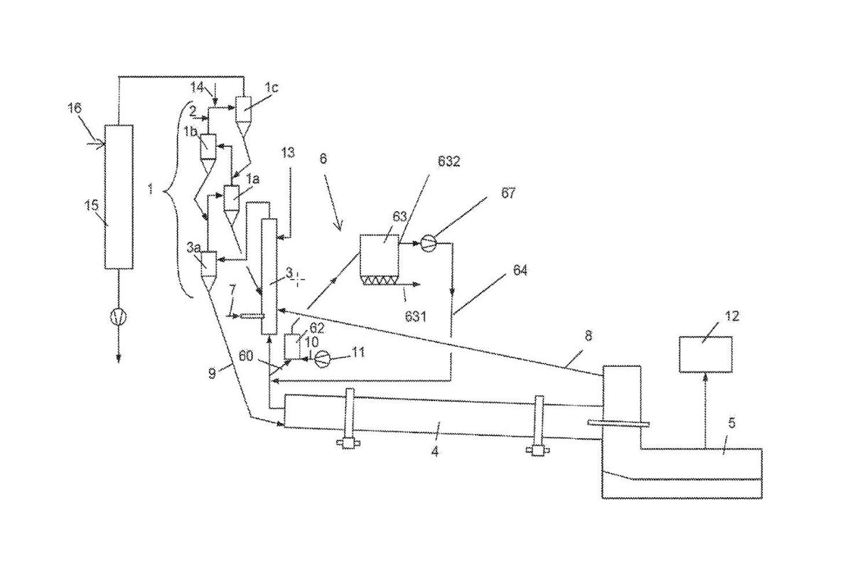
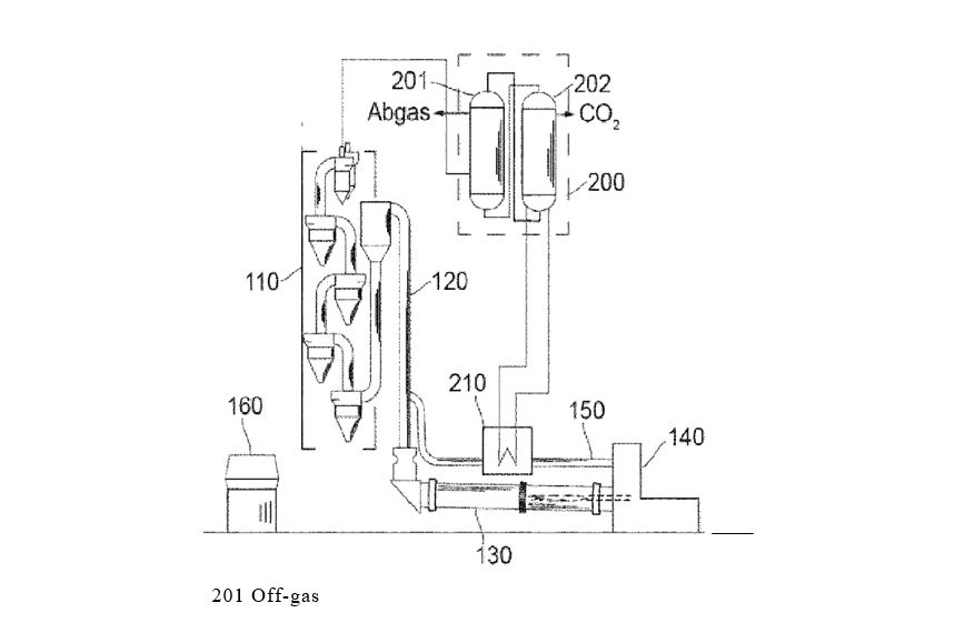
(57) The present disclosure provides an energy-efficient (low energy consumption), carbon enriched cement production system and a method for producing cement clinker. This system involves raw material preheating and precalcining system and sequentially connected kiln inlet chamber, rotary kiln and cooler, wherein the raw material preheating and precalcining system involves precalciner and preheater, and the cooler involves first cooling zone and second cooling zone. The first cooling zone includes first cooling partition and second cooling partition, wherein a mixture of pure oxygen and high-concentration CO2 flue gas entering the inlet of the first cooling partition, high-concentration CO2 flue gas entering the inlet of the second cooling partition, and air entering the inlet of the second cooling zone have solved the problems in existing cement kiln CO2 enrichment technology, i.e., extensive air leakage and high energy consumption between the first cooling zone and the second cooling zone.
(71) Tianjin Cement Industry Design & Research Institute Co.,Ltd., Tianjin (CN)
