Process and apparatus for improving the combustion of secondary fuel in a rotary kiln and process for retrofitting a rotary kiln with a burner assembly
(22) 04.10.2013
(43) 20.08.2015
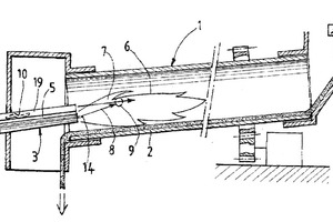
(57) The present invention relates to a process and apparatus for improving the combustion of a secondary fuel supplied in a first stream in a rotary kiln, wherein the rotary kiln has a burner assembly comprising a main burner and a plurality of feed channels for various media, of which one is designed for the supply of a secondary fuel, in particular in the form of particles or shreds in a stream of compressed air. According to the invention, a tubular oxygen lance for an oxygen-rich gas, in particular, technical grade gaseous oxygen, or an oxygen-rich liquid, in particular, technical grade liquid oxygen, with an angled nozzle at its end, is arranged in or on a feed channel of the burner assembly, whereby the oxygen lance is brought into such a position that the oxygen emerging from a nozzle forms a second stream that strikes a first stream of secondary fuel. The present invention may be considered for new constructions of burner assemblies for rotary kilns, but mainly serves for retrofitting existing burner assembles in which mostly feed channels are available as required for inserting an oxygen lance in the present invention. Targeted delivery of gaseous or liquid oxygen, or oxygen-enriched gas or liquefied gas to a secondary fuel can significantly improve the combustion process and consequently significantly reduce exhaust emissions, in particular, the emission of carbon monoxide.
(71) Air Liquide Deutschland GmbH, Düsseldorf (DE)
(73) L’Air Liquide, Société Anonyme pour l’Etude et L’Exploitation des Procédés George Claude, Paris (FR)
