System and method for producing cement clinker
(22) 15.08.2018
(43) 28.02.2019
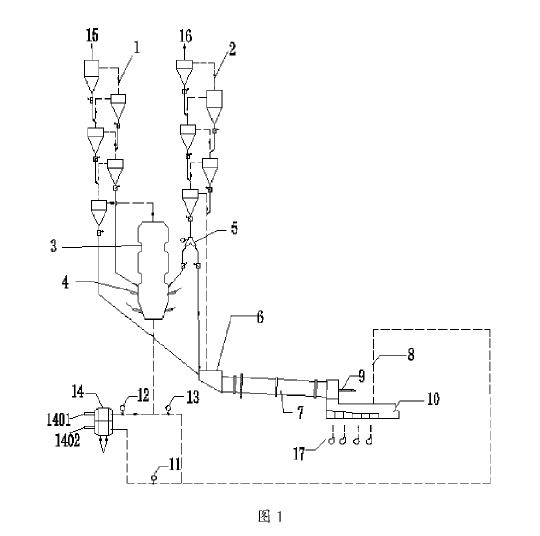
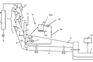
(57) A bypass system is used in the system and method for producing cement clinker, wherein a portion of a furnace exhaust gas occurring in a furnace is channeled off as a bypass gas via a bypass line connected between the furnace and a calciner, cooled and dedusted. The dedusted bypass gas is then directed back to the calciner and/or into a tertiary air duct arranged between the cooling means and the calciner and/or into a region between the furnace and the calciner.
(71) thyssenkrupp Industrial Solutions AG, thyssenkrupp Allee 1, 45143 Essen (DE)
