Calcination unit for decarbonating raw materials, and clinker production process
(22) 17.02.2022
(43) 01.09.2022
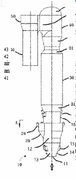
(57) Disclosed is a calcination unit (1) suitable for decarbonating raw materials intended for the production of clinker, the unit (1) comprising: – a main pipe (2) in which the raw materials flow in a first direction (3) of movement, the raw materials being calcined in the main pipe (2); – a feed pipe (4) for supplying solid fuel that opens into the main pipe (2) via a fuel outlet (5), the solid fuel moving in a second direction of movement; – a retaining device (7) located in the main pipe (2) and arranged opposite the solid 
fuel outlet (5) so that said solid fuel 
arriving in the main pipe (2) via the fuel outlet (5) passes through said retaining device (7). 
(71) Fives FCB, 50 Rue de Ticléni, 59650 Villeneuve-d‘Ascq (FR)
(84) ARIPO (BW, CII, GM, KE, LR, LS, MW, MZ, NA, RW, SD, SL, ST, SZ, TZ, UG, ZM, ZW), Eurasian (AM, AZ, BY, KG, KZ, RU, TJ, TM), European (AL, AT, BE, BG, CII, CY, CZ, DE, DK, EE, ES, FI, FR, GB, GR, HR, HU, IE, IS, IT, LT, LU, LV, MC, MK, MT, NL, NO, PL, PT, RO, RS, SE, SI, SK, SM, TR), OAPI (BF, BJ, CF, CC, CI, CM, GA, GN, GQ, GW, KM, ML, MR, NE, SN, TD, TG)


 
						 
									

 
									 
									 
									 
									