Cement premixer, a device for producing a concrete mixture and a method for producing a cement suspension
(22) 29.07.2020
(43) 01.09.2022
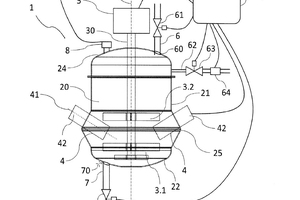
(57) A cement premixer includes a treatment container having a treatment space. The treatment container has a side wall and a bottom, and at least one stirring unit at least partially projecting into the treatment space. The stirring unit is connected to a shaft having an axis of rotation. At least one ultrasonic probe projects at least partially into the treatment space. At least one ultrasonic oscillator applies ultrasound to the at least one ultrasonic probe. The cement premixer has at least one first intro-duction opening for the supply of cement and an outlet for the flow supply line for feeding a cement suspension provided by the cement premixer into a concrete-mixing device.
(71) Sonocrete GmbH, Cottbus (DE)
