Method and device for producing lightweight gypsum and cement panels
(22) 10.07.2015
(43) 28.01.2016
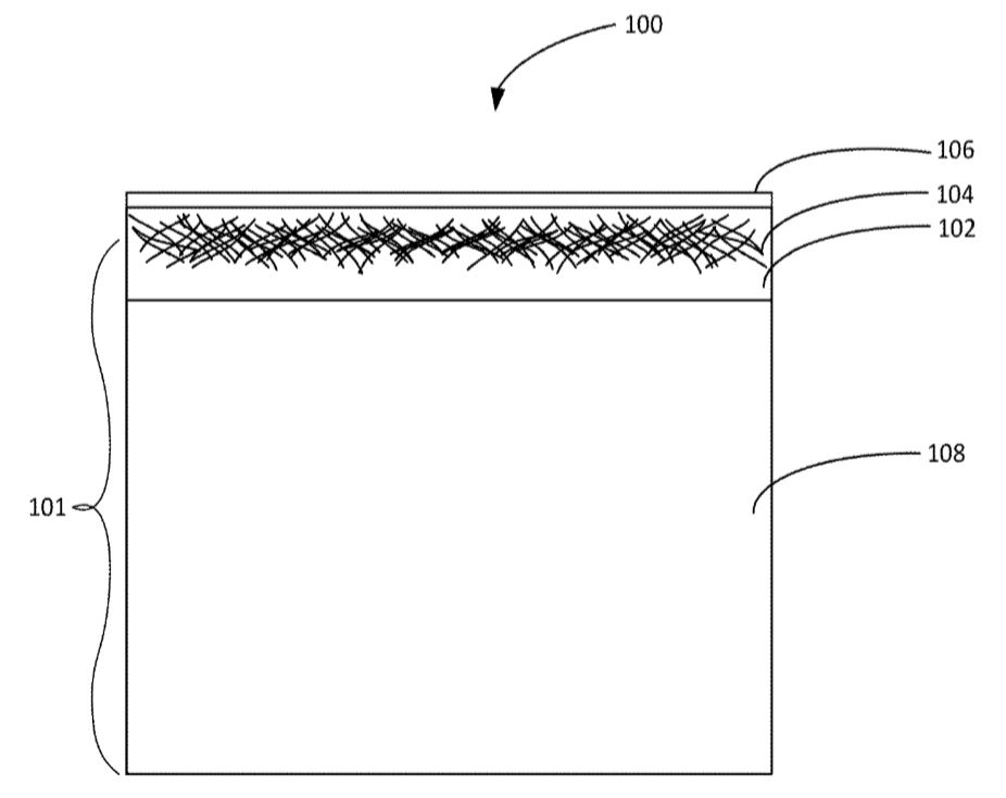
(57) A method and device for producing lightweight panels with a core of gypsum or of cement and gypsum, with pores for decreasing volumetric weight, and with a covering made of cardboard or of a sheet of glass fibers. The production line does not change except for the addition of a device which forms closed hollow cavities within a suspension in an area where an upper sheet covers the suspension. Air pressure which is fed into the formed cavities is slightly higher than the hydraulic pressure of the suspension, so as to prevent the gaps being filled by the suspension. The layers are less thick, and the type and dimensions of the cavities and the thickness of the walls are varied depending on the desired qualities of the panels.
(71) Insomat LLC, 30308, Atlanta, GA (US)
(84) ARIPO (BW, GH, GM, KE, LR, LS, MW, MZ, NA, RW, SD, SL, ST, SZ, TZ, UG, ZM, ZW), Eurasian (AM, AZ, BY, KG, KZ, RU, TJ, TM), European (AL, AT, BE, BG, CH, CY, CZ, DE, DK, EE, ES, FI, FR, GB, GR, HR, HU, IE, IS, IT, LT, LU, LV, MC, MK, MT, NL, NO, PL, PT, RO, RS, SE, SI, SK, SM, TR), OAPI (BF, BJ, CF, CG, CI, CM, GA, GN, GQ, GW, KM, ML, MR, NE, SN, TD, TG)
