System and method for treating CO2 produced in cement clinker production
(22) 29.02.2024
(43) 12.09.2024
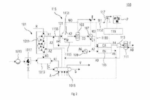
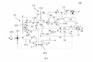
(57) The present disclosure relates to a system and method for treating CO2 produced in cement clinker production. A system for treating CO2 produced in cement clinker production, the system being connected to a cement clinker production unit which produces cement clinker and discharges flue gas comprising CO2, and the system comprising: the cement clinker production unit which produces cement clinker and discharges flue gas comprising CO2; a CO2 capture unit, which captures CO2 in flue gas emitted from the cement clinker production unit; and a solid oxide electrolysis cell unit, which comprises a cathode, an anode and a cathode gas-intake pipe, and the solid oxide electrolysis cell unit being connected to the CO2 capture unit by means of the cathode gas-intake pipe, wherein steam and CO2 captured by the CO2 capture unit are supplied to a stack of the solid oxide electrolysis cell unit via the cathode gas-intake pipe, and the stack of the solid oxide electrolysis cell unit electrolyzes the steam and CO2, to produce first gas at least comprising H2 and CO at the cathode, and produce second gas at least comprising O2 at the anode.
(71) Siemens Energy (Shenzhen) Co., Ltd., Shenzhen, Guangdong (CN)
(84) ARIPO (BW, CV, GH, GM, KE, LR, LS, MW, MZ, NA, RW, SC, SD, SL, ST, SZ, TZ, UG, ZM, ZW), Eurasian (AM, AZ, BY, KG, KZ, RU, TJ, TM), European (AL, AT, BE, BG, CH, CY, CZ, DE, DK, EE, ES, FI, FR, GB, GR, HR, HU, IE, IS, IT, LT.
