Biomass ash modification method, system for converting biomass ash into cement starting material, and modified biomass ash
(22) 23.03.2021
(43) 30.09.2021
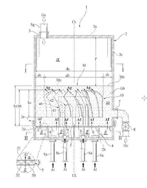
(57) The purpose of the present invention is to surely convert. a biomass ash into resources. For this purpose, provided are a biomass ash modification method and a system for converting a biomass ash into a cement starting material. Also provided is a modified biomass ash having good qualities. The biomass ash modification method is characterized (…).
(71) Taiheiyo Cement Corporation, Tokyo (JP)
