WO 2017/158177 A1

Cement clinker line and a method for operating a cement clinker line

(22) 17.03.2017

(43) 21.09.2017

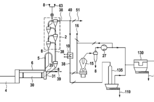
(57) A method for manufacturing clinker comprising sintering raw meal in a kiln to clinker, preheating the raw meal in a preheater using a main flue gas stream from the kiln as heat source, deducting the main flue gas downstream of the preheater at a temperature below the boiling point of mercury, thereby obtaining mercury loaded dust and withdrawing a bypass flue gas stream from the kiln, enables to efficiently remove the mercury from the process if mercury in the bypass flue gas is evaporated by injecting at least a fraction of the mercury loaded dust into the bypass flue gas stream. Subsequently the bypass flue gas is dedusted and cooled down. Thereby, the mercury can be adsorbed by injecting an adsorbent like activated charcoal into the bypass flue gas. By subsequent removal of the adsorbent the mercury is finally removed from the process.

(71) Südbayerisches Portland-Zementwerk Gebr. Wiesbock & Co. GmbH, Sinning 1, 83101 Rohrdorf (DE)

(84) ARIPO (BW, GH, GM, KE, LR, LS, MW, MZ, NA, RW, SD, SL, ST, SZ, TZ, UG, ZM, ZW), Eurasian (AM, AZ, BY, KG, KZ, RU, TJ, TM), European (AL, AT, BE, BG, CH, CY, CZ, DE, DK, EE, ES, FI, FR, GB, GR, HR, HU, IE, IS, IT, LT, LU, LV, MC, MK, MT, NL, NO, PL, PT, RO, RS, SE, SI, SK, SM, TR), OAPI (BF, BJ, CF, CG, CI, CM, GA, GN, GQ, GW, KM, ML, MR, NE, SN, TD, TG)

Related articles:

Issue 11/2019 US 10 392 303 B2

Cement clinker line and a method for operating a cement clinker line

(22) 13.09.2018(45) 27.08.2019(57) A method for manufacturing clinker including the steps of sintering raw meal in a kiln to clinker, preheating the raw meal in a preheater using a main flue gas...

more
Issue 10/2018 PL3219688 (T3)

Cement clinker line and a method for operating a cement clinker line

(22) 18.03.2014(43) 31.07.2018(57) Summary of the corresponding patent EP3219688 (A1): A method for manufacturing clinker comprising sintering raw meal in a kiln to clinker, preheating the raw meal in...

more
Issue 9/2015 A TEC/W&P ZEMENT/SCHEUCH

Breaking the mercury cycle for ­emission abatement with the “ExMercury – ­Splitted Preheater System”

Due to the current trend of maximizing the substitution rates of alternative fuels, whilst emission regulations are being made more restrictive, the cement industry is facing a new ­challenge with minimization of a special pollutant. Mercury emissions have...

more
Issue 11-12/2020 WO 2020/164259 A1

Rotary lime kiln preheater with efficient flue gas desulfurization

(22) 04.11.2019(43) 20.08.2020(57) The present invention relates to a rotary lime kiln preheater with efficient flue gas desulfurization, comprising a preheater main body, a top material bin, a...

more