US 10 392 303 B2

Cement clinker line and a method for operating a cement clinker line

(22) 13.09.2018

(45) 27.08.2019

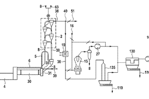
(57) A method for manufacturing clinker including the steps of sintering raw meal in a kiln to clinker, preheating the raw meal in a preheater using a main flue gas stream from the kiln as a heat source, dedusting the main flue gas downstream from the preheater at a temperature below the boiling point of mercury, thereby obtaining mercury-loaded dust and withdrawing a bypass flue gas stream from the kiln. Implementation of the method results in efficient removal of the mercury from the process if mercury in the bypass flue gas is evaporated by injecting at least a fraction of the mercury-loaded dust into the bypass flue gas stream. Subsequently, the bypass flue gas is dedusted and cooled down. The mercury can be adsorbed by injecting an adsorbent like activated charcoal into the bypass flue gas. With the subsequent removal of the adsorbent, mercury is finally removed from the process.

(71) Südbayerisches Portland-Zementwerk Gebr. Wiesböck & Co. GmbH, Rohrdorf (DE)

(73) Südbayerisches Portland-Zementwerk Gebr. Wiesböck & Co. GmbH, Rohrdorf (DE)

Related articles:

Issue 10/2018 PL3219688 (T3)

Cement clinker line and a method for operating a cement clinker line

(22) 18.03.2014(43) 31.07.2018(57) Summary of the corresponding patent EP3219688 (A1): A method for manufacturing clinker comprising sintering raw meal in a kiln to clinker, preheating the raw meal in...

more
Issue 11/2019 US 10 392 303 B2

Cement clinker line and a method for operating a cement clinker line

(22) 13.09.2018(45) 27.08.2019(57) A method for manufacturing clinker including the steps of sintering raw meal in a kiln to clinker, preheating the raw meal in a preheater using a main flue gas...

more
Issue 9/2015 A TEC/W&P ZEMENT/SCHEUCH

Breaking the mercury cycle for ­emission abatement with the “ExMercury – ­Splitted Preheater System”

Due to the current trend of maximizing the substitution rates of alternative fuels, whilst emission regulations are being made more restrictive, the cement industry is facing a new ­challenge with minimization of a special pollutant. Mercury emissions have...

more
Issue 1/2021 EP 3 738 939 A1

Method for calcining raw meal for cement clinker manufacturing

(22) 17.05.2019(43) 18.11.2020(57) Method for calcining limestone or raw meal containing limestone for manufacturing cement clinker, wherein microwave energy is used for calcination, device for...

more