Cement supply control systems and methods
(22) 15.12.2015
(43) 22.06.2017
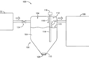
(57) A system comprises a cement mixer, a supply tank to supply dry cement to the cement mixer, and a dry cement height sensor to measure the height of the dry cement in the cement supply tank. A valve controls the flow of dry cement to the cement sup -ply tank based on the signals from the dry cement height sensor. Additional apparatus, methods, and systems are disclosed.
(71) Halliburton Energy Services, Inc., 3000 N. Sam Houston Parkway E., Houston, Texas 77032-3219 (US)
(84) ARIPO (BW, GH, GM, KE, LR, LS, MW, MZ, NA, RW, SD, SL, ST, SZ, TZ, UG, ZM, ZW), Eurasian (AM, AZ, BY, KG, KZ, RU, TJ, TM), European (AL, AT, BE, BG, CH, CY, CZ, DE, DK, EE, ES, FI, FR, GB, GR, HR, HU, IE, IS, IT, LT, LU, LV, MC, MK, MT, NL, NO, PL, PT, RO, RS, SE, SI, SK, SM, TR), OAPI (BF, BJ, CF, CG, CI, CM, GA, GN, GQ, GW, KM, ML, MR, NE, SN, TD, TG)
