Conduit of a calciner in a cement clinker plant
(22) 14.08.2019
(43) 17.02.2021
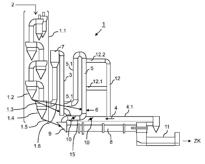
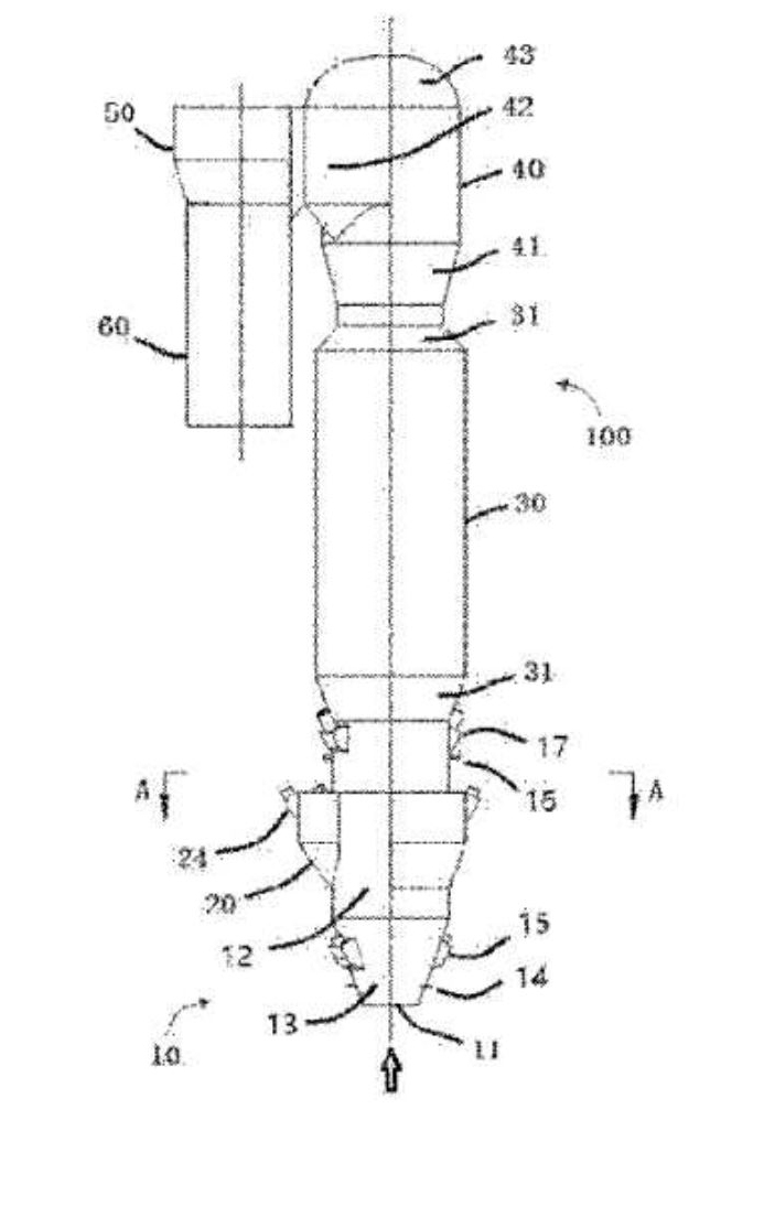
(57) A conduit for a calciner 10 of a cement clinker plant, having an enclosed reaction space 20 being enclosed by a side wall defining an inlet 12 in and an outlet 13 of the enclosed reaction space 20, enabling a flow 3 of a fluid via the enclosed reaction space 20 along a trajectory 2 from the inlet 12 to the outlet 13 provides an improved fuel economy and an enhanced homogeneity of the fluid if the conduit has a first section 30 with at least one first surface portion 31 being inclined towards the trajectory 2 and a second surface portion 32 being inclined away from the trajectory 2.
(71) Alite GmbH, 31535 Neustadt (DE)
(84) Designated Contracting States: AL AT BE BG CH CY CZ DE DK EE ES Fl FR GB GR HR HU IE IS IT LI LT LU LV MC MK MT NL NO PL PT RO RS SE SI SK SM TR; Designated Extension States: BA ME; Designated Validation States: KH MA MD TN
