Method and apparatus for producing cement clinker
(22) 05.07.2016
(43) 12.01.2017
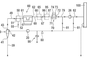
(57) The amount of chloride bypass exhaust gas (79) can be substantially decreased, when using previously cooled chloride bypass exhaust gas (81) and/or cooled kiln exhaust gas as coolant for the chloride bypass exhaust gas (39) prior to dedusting the chloride bypass exhaust gas (39).
(71) Südbayerisches Portland-Zementwerk Gebr. Wiesbock & Co. GmbH, Sinning 1, 83101 Rohrdorf (DE)
(84) ARIPO (BW, GH, GM, KE, LR, LS, MW, MZ, NA, RW, SD, SL, ST, SZ, TZ, UG, ZM, ZW), Eurasian (AM, AZ, BY, KG, KZ, RU, TJ, TM), European (AL, AT, BE, BG, CH, CY, CZ, DE, DK, EE, ES, FI, FR, GB, GR, HR, HU, IE, IS, IT, LT, LU, LV, MC, MK, MT, NL, NO, PL, PT, RO, RS, SE, SI, SK, SM, TR), OAPI (BF, BJ, CF, CG, CI, CM, GA, GN, GQ, GW, KM, ML, MR, NE, SN, TD, TG)
