Use of clinker kiln dust for gas scrubbing
(22) 05.08.2016
(43) 13.06.2018
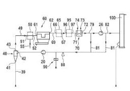
(57) Summary of the corresponding patent WO2017024247 (A1): Methods and apparatus for reducing the content of controlled acidic pollutants in clinker kiln emissions are disclosed. The methods and apparatus include introducing bypass dust produced during production of clinker into one or more locations between the preheater exhaust and the inlet to a dust filter including into a gas conditioning tower. Total bypass dust separated from the kiln exhaust gas may be used. The bypass dust can be separated into a fine and coarse portions. Fine or total bypass dust can be mixed with water to form a bypass dust slurry that can be introduced into the gas conditioning tower. Bypass dust can be used to reduce the content of acidic pollutants such as hydrogen chloride HCl and sulfur oxides SOx from clinker kiln emissions.
(71) Calportland Company (US)
