Method and apparatus for 
producing cement clinker
				
				
								
				
					
    	(22) 08.01.2018
(43) 10.05.2018
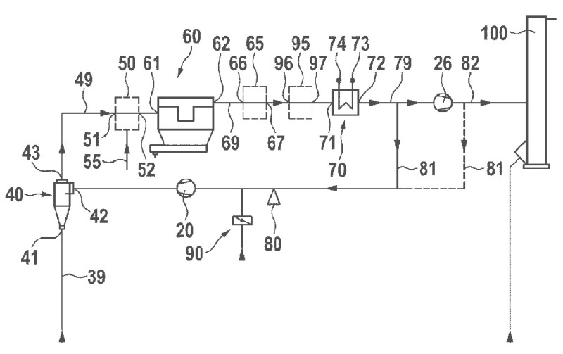
(57) In methods of and/or plants for manufacturing cement clinker, the amount of chloride bypass exhaust gas 79 can be substantially decreased, when using previously cooled chloride bypass exhaust gas 81 and/or cooled kiln exhaust gas as coolant for the chloride bypass exhaust gas 39 prior to deducting the chloride bypass exhaust gas 39.
(71) Südbayerisches Portland-Zementwerk Gebr. Wiesböck & Co. GmbH (DE)
