Method and device for the production of cement clinker
(22) 25.03.2021
(43) 14.10.2021
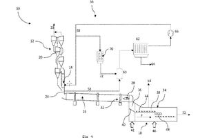
(57) The invention relates to a method for producing cement clinker, said method comprising the steps of: – preheating raw meal in a preheater (12), – calcining the preheated raw meal in a calciner (14), – burning the preheated, calcined raw meal in a kiln (16) to obtain cement clinker, – cooling the cement clinker in a cooler (18), –withdrawing, as a bypass gas, some of the exhaust gases flowing out of the kiln (16), –cooling the bypass gas in a mixing chamber (60) using a cooling gas, and –separating dust contained in the bypass gas, wherein at least some or all of the cooling gas is formed from the bypass gas and/or the exhaust gas from the calciner, Cy and wherein the cooling gas is introduced into the mixing chamber (60) at a ratio of 2-10 to 1 in relation to the bypass gas.
(71) thyssenkrupp Industrial Solutions AG, ThyssenKrupp Allee 1, 45143 Essen (DE)
