Method for operating cement kiln
(22) 31.05.2017
(43) 08.02.2018
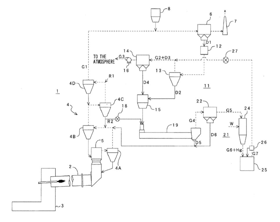
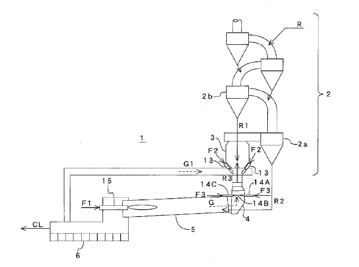
(57) [Problem] To reduce the concentration of both SOx and NOx in combustion gas discharged from a cement kiln. [Solution] A method for operating a cement kiln 7, comprising adjusting the oxygen partial pressure in a kiln end 5 of the cement kiln 7 to 4 to 7 % to suppress generation of SOx from cement starting material R3 and clinker inside the cement kiln 7, and blowing fuel F2 and combustion air A into the kiln end 5 through a denitration burner 6 to decompose NOx included in exhaust gas G1 of the cement kiln 7 that passes inside the kiln end 5. The fuel F2 and the combustion air A can be blown through a plurality of burners provided in the kiln end 5 of the cement kiln 7. The fuel F2 may include one or more selected from pulverized coal, heavy oil, natural gas, coal ash, and gasified combustible waste or combustible substance.
(71) Taiheiyo Eng Corporation (JP)
