Method for producing dust-reducing and dust-absorbing material from nonmetallic mineral and raw material from cement plant
(22) 01.03.2021
(43) 02.12.2021
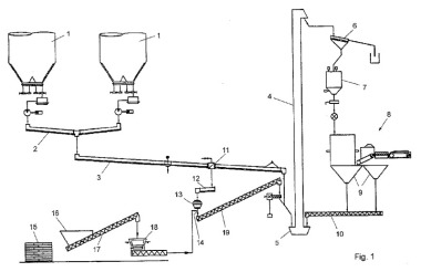
(57) A method for producing a dust-reducing and dust-absorbing material from a nonmetallic mineral and a raw material from a cement plant. The method includes calcining the limestone block, to obtain quicklime; cooling the quicklime at ambient temperature, drying and pulverizing the quicklime, to obtain a first powder essentially consisting of a quicklime powder and a calcium carbonate powder; fully drying and grinding a nonmetallic mineral, to obtain a nonmetallic mineral powder; mixing the first powder and the nonmetallic mineral powder, stirring to be uniform, to obtain a mixture, and ball milling the mixture, to obtain a nano-powder; adding a dust-absorbing material to the nano-powder, adding water and mixing, and pouring the resulting mixture into a mold, and stoving; and air drying the resulting mixture, to obtain a cavernous dust-reducing and dust-absorbing material.
(71) Shandong University of Science and Technology, Qingdao (CN)
(73) Shandong University of Science and Technology, Qingdao (CN)
