Processing of clinker containing polymetallic raw materials
(22) 22.02.2018
(43) 22.08.2019
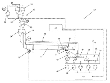
(57) Disclosed are methods and systems for processing clinker containing iron and non-ferrous metals for extraction of those metals. The processing comprises pretreatment of clinker resulting in a removable carbon-containing foam phase, forming a metal-containing cake. Melting of the cake is then performed in the absence of air delivery and in the presence of carbon, resulting in phases of slag, metal, and matte. Melting may occur while maintaining a mass ratio of iron to carbon of no greater than 14:1, such that cast iron forms instead of sponge iron. The metal and matte phases, containing non-ferrous metals and iron, are then exposed to further dissolution, filtration, and salting out to extract the non-ferrous metals and iron. Byproducts of various stages of the process are also recycled into earlier stages or further processed to extract additional copper, iron, and other non-ferrous metals.
(71) Branch RGP NC KPMS RK CHMI named after ZH. Abishev, Karaganda (KZ)
