测试详情页广告位2
Content

Digitalization

Patents

WO 2024/260928 (A1)

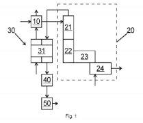
IDC Indirect Calciner

(22) 17.06.2024(43) 26.12.2024(57) A calciner 100 for a cement clinker manufacturing line, comprising a duct 110 with a raw meal inlet 111 and a raw meal outlet 112 being in fluid communication via a...

more
US 2025/0042816 (A1)

Alkali-activated cement composition

(22) 01.08.2023(43) 06.02.2025(57) A cement composition includes a curable component in an amount of 10 to 25 wt. %; a fine aggregate (FA) in an amount of 20 to 40 wt. %; a coarse aggregate (CA) in an...

more
WO 2024/219334 A1

Manufacturing method of Portland cement clinker

(22) 12.04.2025(43) 24.10.2025(57) Provided is a manufacturing method of a cement clinker, the method being capable of reducing a firing temperature in manufacturing and providing a product that...

more
WO 2024/186261 A1

Method for flame control in a rotary lime kiln

(22) 11.03.2024(43) 12.09.2024(57) A rotary lime kiln (1) comprising a tubular lime kiln body (2) having a first end (3) comprising a burner (5) and a second end (4) adapted to receive lime to be...

more

Materials

Process

CHRISTIAN PFEIFFER

Enhancing cement grinding efficiency: Replacing intermediate diaphragms in ball mills

In the global economy, the only product more consumed than concrete is water . As one of the primary inputs for concrete production, cement is also among the most consumed materials worldwide. It is estimated that approximately 4.1 billion tons of cement must be produced annually to meet current societal demands, making the energy and environmental impact of its production process highly significant on a global scale.

more

Markets and Trends

ONESTONE CONSULTING LTD.

The future generation of cement kiln technology

The latest cement kiln technology comprises the preheating system, calciner, rotary kiln and grate cooler. State-of-the-art systems allow clinker capacities of 12000 tons per day (t/d) and more.

more

Events

Products

MARTOR

The new SECUNORM 610 XDR bag opener from Martor

The SECUNORM 610 XDR is the world’s first safety knife with blade retraction and maximum dirt resistance. Above all, it can be used to open bags of any type and thickness regardless of how dusty, grainy or sticky the bag contents are.

more

Spotlight

SUPERIOR

Superior’s Telestacker® conveyor automation gets major update

Superior Industries, Inc., a US-based manufacturer and global supplier of bulk material processing and handling systems, announces significant upgrades to its TeleStacker Conveyor PilePro™ Automation , designed to enhance productivity, usability, and durability in the most demanding environments.

more
ENDRESS+HAUSER

Change at the top of Endress+Hauser InfoServe

Endress+Hauser InfoServe, E+H’s IT service provider, plays a key role in the process of digitalization. Oliver Blum took over as the new managing director on 1 January 2025. He was previously Corporate Director Supply Chain at Endress+Hauser.

more
KIT (KARLSRUHE INSTITUTE OF TECHNOLOGY)

Mobility: hydrogen engine for off-road applications

In order to decarbonize the transport sector, heavy commercial vehicles and non-road mobile machinery are increasingly coming to the fore. Vehicle and engine manufacturers, suppliers and science have therefore joined forces in the “PoWer” project.

more
FEHS

Improving the use of secondary raw materials in cement and concrete

It is undisputed that the use of secondary raw materials in cement and concrete leads to a more circular economy and resource conservation. However, what is politically desirable often fails due to existing regulations. It hinders the use of industrially produced or recycled aggregates due to outdated concepts for assessing environmental compatibility.

more
GEBR. PFEIFFER

MVR Vertical roller mills for grinding cement raw material

Due to the successful installations of MVR vertical roller mills worldwide, information about the many advantages of this innovative grinding technology are spreading rapdily in the cement market. This is quite understandable, because what could be more convincing than positive operating data from the field?

more
AUMUND | HOLCIM

eLCC – A new solution for calcined clay

A significant contribution to the decarbonisation of cement production is being made, with new types of cement which use calcined clay and a smaller proportion of clinker than in traditional cement manufacture. Clay calcination requires lower burning temperatures than clinker production, so the carbon footprint of the cement is reduced significantly.

more
ARAS

The future of industry: AI is becoming a product in its own right

The race for future industrial supremacy will be decided in one area: artificial intelligence. The German industry has also recognized AI as a key success factor. However, with the increasing autonomy of machines and the rapid development pressure, manufacturers need to rethink and see AI not as a helpful feature, but as an independent product to be integrated.

more
EUROSAC | CEPI EUROKRAFT

Developing paper sack circularity in the construction sector

Eurosac and CEPI Eurokraft recently joined the Paper Sacks Go Circular Spain alliance. The alliance unites about 50 European companies from the whole value chain. They share the common interest to promote efficient industrial waste management and achieve a circular economy in recycling paper sacks and other construction waste.

more

Editorial

Keep the good and add the better

2045 is approaching, the self-declared goal of at least the German cement industry to produce climate-neutral cement by then. However, this also presents the protagonists with challenges, but also offers great possibilities and opportunities for technical and scientific development.

more