US 2019/0003770 A1

Multi-stage cement calcining plant suspension preheater

(22) 06.10.2016

(43) 03.01.2019

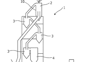
(57) The invention relates to multi-stage cement calcining plant suspension preheater of the kind mentioned in the introduction, wherein the preheater comprises a top separator comprising a central tube entering the top separator in a lowermost part of the separator housing whereas the central tubes of the bottom separators enters the separator housing in an upper part of the separator housing.

(71) FLSmidth A/S, Valby (DK)

Related articles:

Issue 8/2023 CN116500921 (A)

Intelligent control system for powder lime suspension calcination based on Internet of Things

(22) 03.01.2023(43) 28.07.2023(57) The invention relates to the technical field of suspension calcination intelligent control, and particularly discloses a powder lime suspension calcination...

more
Issue 05/2024 CN115925283 A

Calcium carbonate suspension calcination preparation process

(22) 29.11.2022(43) 07.04.2023(57) The invention relates to the technical field of calcium carbonate preparation, in particular to a calcium carbonate suspension calcination preparation technology...

more
Issue 11-12/2020 WO 2020/164259 A1

Rotary lime kiln preheater with efficient flue gas desulfurization

(22) 04.11.2019(43) 20.08.2020(57) The present invention relates to a rotary lime kiln preheater with efficient flue gas desulfurization, comprising a preheater main body, a top material bin, a...

more
Issue 11-12/2020 RU 2 730 820 C1

Method of extracting vanadium by countercurrent acid leaching of clinker from calcining firing

(22) 27.11.2019(45) 26.08.2020(57) Field: chemistry. Substance: invention relates to vanadium extraction technology, in particular to a method of extracting vanadium with countercurrent acid leaching...

more
Issue 5/2023 US 2023/0150871 A1

Method and device for the production of cement clinker

(22) 25.03.2021(43) 18.05.2023(57) A process for producing cement clinker may involve pre-heating raw meal in a preheater, calcining the preheated raw meal in a calciner, burning the preheated and...

more
×