This is the conclusion of a study conducted by RWTH Aachen University, which has analysed the situation in the German cement industry (from page 14). In “Industry 4.0 in the Cement Industry – Status Quo and Prospects” ...
Cemex Ventures, Cemex’s open innovation and venture capital unit, announced today its investment in StructionSite, a US-based startup that creates digital worksite models through 360-degree cameras....
On 24.09.-25.09.2019 the 3rd International Conference on Polycarboxylate Superplasticizers (PCE 2019) will be held at TU München in Munich/Germany. This conference offers a unique opportunity for the...
The 10th European Slag Conference will take place in Thessaloniki/Greece from 08.10.-11.10.2019, jointly organized by the Laboratory of Building Materials of the Aristotle University of Thessaloniki,...
After two successful conferences held in Lausanne (2015) and Havana (2017), the 3rd International Conference on Calcined Clays for Sustainable Concrete will take place in New Delhi/India from...
Tristan Suffys has been appointed as the new Secretary General of Euro-gypsum, the European Manufacturers Association for Plaster and Plasterboard Products. He will replace Thierry Pichon, who assumed...
Ghorahi Cement Industry Pvt Ltd. is headquartered in Kathmandu and operates a cement plant in Ghorahi at the foot of the Himalayas. A new kiln line will be built as part of an expansion of the cement...
Aumund Brazil and Aumund China joined forces and worked closely with Sinoma Tianjin TDI to claim two orders in succession for the Aumund Group of Companies from South America. Aumund will supply three...
The successful partnership between Aumund France and Aumund China has resulted in large orders for Aumund in Algeria for two new cement plants at Zahana and Bechar. The two orders together comprise 26...
The award by Sinoma of several orders for Nigeria and Senegal to companies of the Aumund Group has consolidated Aumund’s position on the African continent. Working closely with Sinoma Nanjing NDI,...
In the course of strengthening its market focused and agile management organization, LafargeHolcim promotes its Legal and HR functions to the Executive Committee. In addition, the corporate business...
Claudius Peters was awarded Innovator of the Year in the Design & Manufacturing category at the prestigious Autodesk event at Autodesk University (AU) Las Vegas in November 2018, the participants...
On 01.02.2019, LafargeHolcim acquired Transit Mix Concrete Co., a leading supplier of building materials in Colorado and subsidiary of Continental Materials Corporation. The acquisition will...
Christian Pfeiffer will supply two grinding plants for a new cement plant of the YD Madencilik A.S. (Üstyapi Insaat Group). In the Düzce region, 200 km east of Istanbul, a new cement plant of the YD...
From 09.03.-23.06.2019, the travelling exhibition “Fascination of Lime” will be on display at the Lahn Marble Museum in Villmar/Germany. In this exhibition, the raw material “lime” will be presented...
For Powtech 2019, more than 23000 m2 of display area have already been booked at this point in time. In six halls, visitors will experience the latest in process engineering and see hundreds of ...
Sustainability is absolutely the trend topic today, also in mining. The focus extends well beyond the areas of energy consumption and the use of resources: All industries are currently searching for ...
At a press conference held at the 2019 World of Concrete, Portland Cement Association (PCA) Executive Vice President and Chief Economist Ed Sullivan predicted moderate growth in 2019 for the overall ...
It is a growing problem for many countries around the world: used car tyres piling up as authorities struggle to find effective disposal solutions. Heating and power plants can help solve the problem ...
Cemex announced the following changes to its senior level organization, effective 01.02.2019:Juan Romero Torres, current President of Cemex Mexico, has been appointed Executive Vice President of...
High-calibre keynote speakers will provide inspiration with the latest findings from their discipline at Partec, the international congress for particle technol-ogy to be held in Nuremberg in April....
The study “Industry 4.0 in the Cement Industry – Status Quo and Perspectives”, just released by RWTH Aachen University, attests to the high level of digitalisation that German cement users have in...
What is the potential for reducing CO2 emissions in cement production? How can changes in the production process influence the quality of cements? These and other fascinating topics will be addressed...
The international non-profit organisation CDP (formerly Carbon Disclosure Project) has published the results of its company rating for 2018, which is one of the most important sustainability ratings...
Martin Engineering has announced a new technology for installing air cannons without a processing shutdown. The system allows specially trained technicians to mount the units on furnaces, preheaters,...
ABB has launched the ABB Ability™ Smart Sensor for Dodge mounted bearings, part of the ABB Ability Digital Powertrain, that enables “health checks” for bearings. The smart sensor technology provides ...
e-nizing GmbH, a newly founded daughter company of Schenck Process, is launching e-nizing.io today: a platform to visualize the status of all machines, no matter whether it is Schenck Process- or any ...
On 01.11.2018, the M-Group integrated RefraSolid, a company specialized in safety technology.The M-Group is a worldwide organised group of companies that offers a wide range of services for...
Knauf has recently invested around € 33 million in the Rottleberode site in the southern Harz region – and in 2017 a modern fibreboard plant was taken into operation. Cellulose and stucco are the main...
From the kiln cooling system to the silos: the safe and economical transportation of hot materials like clinker is crucial in cement plants. The material can have extremely high temperatures of 500 to...
Thanks to innovation and technologies, Cimprogetti is working on progressive outreach for a long-term strategy in the lime industries. At a time when it is essential to introduce adequate skills to be...
Digitalization has become a buzzword in the industry. The permanent availability of abundant data on virtually any device is part of our daily life. But what is it good for? What benefits can be drawn...
Lime production is a complex process that calls for an increasingly deep level of process comprehension. The fact that legislators keep stipulating ever lower emission levels, coupled with ever...
(22) 13.04.2017(43) 18.10.2018(57) An infectious waste treatment system and method for decontaminating infectious waste employ a thermal friction extruder (20) in which first and second interleaved...
(22) 24.04.2018(43) 01.11.2018(57) A method of forming a cement composition. The method comprises adding to a hydraulic cementitious material a first strength-enhancing agent and a second...
(22) 06.02.2017(43) 19.12.2018(57) Provided is a gypsum-based board producing apparatus including: a mixer configured to prepare a gypsum slurry; a foaming apparatus; and a pump configured to convey...
(22) 15.02.2017(43) 26.12.2018(57) An analysis apparatus, an analysis method and an analysis program by which even unskilled ones can perform quantitative analysis of a composition of high-performance...
(22) 19.05.2016(43) 02.01.2019(57) The present disclosure relates to a method of cementing comprising: providing a cement composition comprising: water, a cement, and a non-aqueous liquid...
(22) 19.10.2017(45) 01.01.2019(57) Portland cement clinker LCMs that include Portland cement clinker to mitigate or prevent lost circulation in a well are provided. A Portland cement clinker LCM may...
(22) 20.07.2018(43) 06.12.2018(57) Systems and methods for the use of highly reactive hydrated lime (HRH) in circulating dry scrubbers (CDS) to remove sulfur dioxide (SO2) from the flue gas.(71)...
(22) 06.12.2016(43) 20.12.2018(57) Conventional methods suffer from unsatisfactory performance of the dehydration-preventing agent at a high temperature, and the present invention provides a cement...
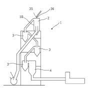
(22) 06.10.2016(43) 03.01.2019(57) The invention relates to multi-stage cement calcining plant suspension preheater of the kind mentioned in the introduction, wherein the preheater comprises a top...
(22) 04.06.2018(43) 20.12.2018(57) The present invention relates to a composite cement obtainable by grinding Portland cement clinker and latent hydraulic material together, preferably in the presence...
(22) 25.05.2018(43) 20.12.2018(57) A cement structure manufacturing method is disclosed. The cement structure manufacturing method comprises the steps of: (a) stacking an outer peripheral portion...
(22) 12.06.2018(43) 20.12.2018(57) The present invention relates to a kiln for calcinating limestone and dolomitic sands to obtain quicklime (CaO). The invention also relates to a system for hydrating...
(22) 23.05.2018(43) 03.01.2019(57) The present disclosure relates to a vertical lime kiln, specifically adapted for allowing mobility and reuse of the material used for constructing the kiln. The...
There is a major hype surrounding infralight concrete. Architects dream of monolithic building methods using visible concrete, which are sustainable and authentic. Now, Heidelberger Beton GmbH have...
A new initiative to be launched at Hannover Messe 2019 sees Singapore Economic Development Board (EDB), McKinsey & Company, SAP, Siemens and TÜV SÜD collaborate to support companies scale the adoption ...