Sludge processing method and cement manufacturing system
(22) 01.07.2020
(43) 14.01.2021
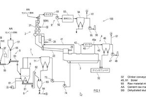
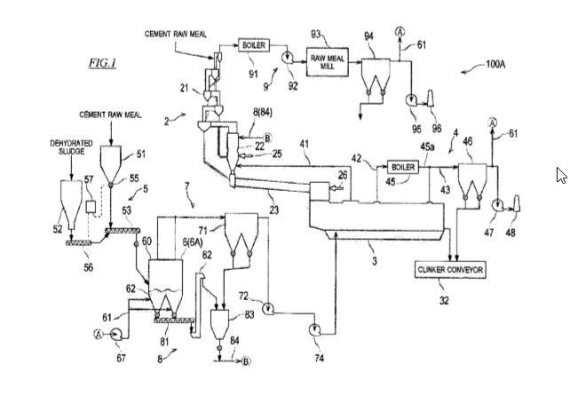
(57) This cement manufacturing system comprises: a suspension pre-heater for pre-heating a cement raw material; a calcining furnace for calcining the pre-heated cement raw material; and a firing furnace for firing the calcined cement raw material. In the cement manufacturing system, a granular material containing dried sludge is loaded into a region of the suspension pre-heater having a temperature of at least 600 °C and less than 800 °C, and the dried sludge is used as a cement raw material and fuel.
(71) Kawasaki Jukogyo Kabushiki Kaisha, Hyogo (JP)
