This high-impact advertising motto in Germany popped into my mind while listening to the talk given by Jacques Burdin at the international conference “The Future of Cement”, which was held in Paris ...
Following a construction period of approximately four months Alba Nordbaden GmbH, a subsidiary of the Alba Group, put the new production line for refuse-derived fuel (RDF) from mixed construction and...
On 11.05.2017, Peter J. Oswald took over as Chief Executive Officer of the Mondi Group. At the same time, he will be appointed as a member of the sustainable development committee and the social and...
KHD has been awarded the contract to upgrade NUH Cimento’s existing ball mill grinding unit in Hereke-Kocaeli located in the Marmara region of Turkey. With this upgrade, the plant will increase the...
Recently, KHD provided a six-day process training class to LafargeHolcim’s Volsk plant personnel at the Technological State University of Belgorod in Russia (Belgorod University). Belgorod University...
Sika has relocated its concrete admixture and mortar production in Almaty, in the south of Kazakhstan, to a larger site in the 1.7-million-population city. Aside from the booming Kazakh market, the...
Société Saoura ciment relies on the Pfeiffer technology for its new cement production line, which will be set up in Zahana/Algeria. While, in 2015, the vertical roller mill for its first production...
Sika has appointed Paul Schuler, formerly Regional Manager Europe Middle East Africa (EMEA), as Chief Executive Officer as of 01.07.2017. He succeeds Jan Jenisch who has accepted the offer to become...
A global leader in dust and odor control has announced a company name change that embodies the firm’s expanded portfolio of technologies and services. After pioneering atomized mist dust control...
Christian Knell, General Manager of HeidelbergCement in Germany, was elected as the new president of VDZ in Ulm on 27.04.2017. He succeeds long-standing President Gerhard Hirth, who has been at the...
On 11.09.-14.09.2017 the Christian Pfeiffer Seminar will be held in Beckum/Germany. During this technical process training Christian Pfeiffer engineers will provide application-oriented knowledge and...
Cement Business and Industry Africa 2017 – CBI Africa 2017 will take place in Johannesburg/South Africa on 04.10.-05.10.2017. Organized by GMI Global, it is expected to bring together over...
The 9th European Slag Conference will take place in Metz/France, at the prestigious Arsenal, from 11.10.-13.10.2017, organized by Euroslag with the local support of Afoco, the French Industrial...
Michael Brachthäuser has been manager of the cement business sector at the Beumer Group since 01.10.2016. In this function, he controls and coordinates the global competence center for this industry....
BMIC, headquartered in Cairo, awarded Gebr. Pfeiffer a contract for a complete coal grinding plant on a turnkey basis for its cement plant in Assiut/Egypt. Gebr. Pfeiffer, together with its global and...
After switching to the Pfeiffer technology for its Zahana works, Société Saoura ciment also opted for Gebr. Pfeiffer for its new cement plant in Bechar.The customer ordered an MVR 5000 R-4 for cement...
Eagle Cement Corporation wants to use its state-of-the-art production line to contribute to meeting the country’s growing demand for construction material. Loesche could now once again place one of...
The Beumer Group has developed the Beumer Overall Operation Monitoring app, an application which enables staff to maintain an overview of all the relevant parameters of their packaging line on their ...
For the fourth time HeidelbergCement is inviting to participate in its international scientific and educational contest. The “Quarry Life Award” targets innovative approaches to study and boost ...
Lithuanian stevedoring company Bega has awarded a contract to Claudius Peters for the supply of silo and discharge equipment. The specialist in the handling of dry bulk cargoes, Bega, is located at ...
The Loesche Group will in future merge their activities in the combustion systems and drying systems sector into a central location at their main centre under the name “Loesche Thermal Applications”. ...
Sika is setting up production in Tanzania and is opening a concrete admixtures factory. Sika is the first company to manufacture these products locally. Plans are already being made to add a mortar...
Products with different consistencies are made in a number of industries, e.g. dry mixes, granulate, press bodies and plastic compounds. The unique Eirich operating principle makes it possible to...
Tool change is part of the normal routine for mixer operators. The mixing tool does most of the work during raw material preparation, and its condition has a major influence on the quality of the end...
From 04.05.–10.05.2017, the international packaging and paper group Mondi highlighted its solutions for customers in the building & construction sector at the interpack in Düsseldorf/Germany. Building...
PanPac Engineering A/S has introduced a newly patented system for robot operated handling of big bags. It allows fully automatic big bag filling to be built into existing filling stations....
Material carryback is one of the main causes of potential problems in belt conveyor systems. To prevent this, operators rely on precleaners for coarse materials and secondary cleaners for fine...
As a complete systems provider for packaging lines, Beumer Group offers the Beumer fillpac for the efficient filling of bags with material from the construction materials, cement, mineral and chemical...
From 04.05.-10.05.2017 the internationally leading trade fair of the packaging sector and related process industries “interpack” brought more than 170 000 visitors to Düsseldorf/Germany; 74 % of the...
Some 6800 trade visitors came to the eighth edition of Solids Dortmund on 10.05.–11.05.2017, 3 % more than to the previous edition. The organiser Easyfairs attracted this large, expert audience at...
Gebr. Pfeiffer SE and co-sponsor Beumer Group invited their clients in the SADC countries as well as the EAC region for a two-day-event in Sandton, Johannesburg/South Africa. 70 delegates from six...
In bright sunshine, more than 850 delegates from 27 countries met from 21.05.-25.05.2017 for the 59th IEEE-IAS/PCA 2017 Cement Industry Technical Conference in Calgary/Canada. In addition to the ...
From 06.06.-08.06.2017, around 560 attendees met for the international scientific symposium “The Future of Cement” to discuss with each other the history, present and future. The symposium was ...
Participants from 41 countries joined the 7th International Symposium 2017 on MBT, MRF & Recycling in Hanover from 16.05.–18.05.2017 in order to discuss latest trends in recycling and waste treatment ...
On 25.04.2017, the partners in the Nanocem Consortium met for their 7th Open Meeting with interested guests at the Portland Forum in Leimen, to discuss current research activities and the latest ...
Hazemag & EPR GmbH (Hazemag) based in Dülmen is among the leaders when it comes to the construction of crushing plants. For the retrofit of a limestone crushing facility in France, Hazemag developed...
In the face of this issue, a cement grinding facility in the Carbon Works neighborhood of Detroit discovered a way to virtually eliminate the issue of tacky carryback on one of the plant’s raw...
Two planetary gear units serving tube mills at a cement plant in Antoing, Belgium, were taken to Brauer Maschinentechnik AG in Bocholt for repair. Since the mill building lacked the requisite lifting...
Gravimetric dosing systems are classified by their short-term and long-term accuracies. In this market review the cement process requirements for precision dosing are discussed and the latest ...
The purpose of this work was to illuminate the effects of certain additives or of combined additives on a hydrating gypsum plaster. The changes in hydration and the strength development process are...
To meet technical and economic requirements, calcium sulphate binders must exhibit varying properties. Especially in respect of the open processing time and the setting time, the binders must be...
(22) 26.11.2015(43) 26.05.2017 (57) A process and product of an activated cement composition comprising: industrial waste such as ground granulated blast furnace slag, cement kiln dust, lime kiln...
(22) 11.03.2011(45) 16.05.2017(57) This burned cement clinker is a burned cement clinker including at least one selected from the group consisting of fluorine, sulfur, chlorine and bromine, and at...
(22) 02.06.2015(43) 04.05.2017(57) The invention relates to a method for milling hot and wet raw materials, in particular cement clinker, in a vertical airflow mill (1), to a vertical airflow mill...
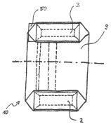
(22) 20.04.2016(43) 18.05.2017(57) This invention relates to a paper bag for bulk material such as cement, gypsum, granular material, animal feed or the like, with a bottom and with an upper part...
(22) 02.11.2016(43) 18.05.2017(57) In the method according to the invention, the cement clinker is produced by preheating, pre-calcinating and burning raw cement meal, wherein a portion of the raw...
(22) 28.12.2015(43) 18.05.2017(57) A cement packaging machine comprises a machine base (1), a material feeder device (2), a drive device (5), a limestone output mechanism (3), a weighing mechanism...
(22) 03.11.2016(43) 11.05.2017(57) Disclosed are various methods for reducing levels of elemental sulfur within gypsum products such as wall board. Gypsum sometimes includes increased levels of...
(22) 17.10.2016(43) 04.05.2017(57) A method of producing a cement composition, which comprises Portland cement and at least one added component, comprising the steps of : – storing Portland cement...
(22) 21.10.2016(43) 04.05.2017(57) The invention relates to a method for producing a cement clinker substitute which is made primarily from calcined clay, wherein at least two different clay raw...
(22) 02.07.2013(45) 17.05.2017(57) The invention relates to a method for producing a cement clinker substitute which is made primarily from calcined clay, wherein at least two different clay raw...
(22) 17.07.2015(43) 24.05.2017(57) Provided is a method of operating a flue gas desulfurization apparatus, in which gypsum slurry containing gypsum, which is obtained by bringing sulfur oxide...
(22) 26.11.2012(45) 10.05.2017(57) Die vorliegende Erfindung betrifft eine Fülleinrichtung für eine Packmaschine und eine mit wenigstens einer Fülleinrichtung ausgerüstete Packmaschine zum Füllen von...
(22) 22.10.2007(43) 26.08.2009(45) 10.05.2017(57) La présente invention concerne un procédé de fabrication de clinker permettant de contrôler les émissions de CO2 dans l’atmosphère. (…)(73) L’Air...