One focus of Intercem‘s activities is in Africa, where the company has already successfully implemented several projects. Olaf Michelswirth, General Manager of Intercem Engineering GmbH, will share...
Under this motto, the Intercem Group offers tailor-made customer solutions for the global cement industry. Committed to the slogan “Fast – Fair – Flexible”, Intercem guarantees its customers speedy...
Panta rhei – everything flows! That was a word of wisdom already from the ancient Greek philosopher Heraklit. I am sure he meant something different than what we mean in our industry when we talk ...
(22) 21.11.2018(43) 28.05.2020(57) The present application concerns a method for the production of a gypsum article, which comprises introducing a measured quantity of carbon dioxide into the process...
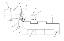
(22) 25.11.2019(43) 04.06.2020(57) The invention relates to a kiln (10) for firing cement clinker, comprising: a tubular rotary drum (22), which can be rotated about its central axis, wherein the...
(22) 24.03.2020(43) 27.05.2020(57) Method of utilizing carbon dioxide containing gas arising as waste or by-product in one or more of the following industrial processes:cement clinker production such...
(22) 15.08.2018(43) 01.07.2020(57) Summary of the corresponding patent DE102017119155 (B3): Bei der Anlage und dem Verfahren zur Herstellung von Zementklinker kommt ein Bypasssystem zur Anwendung,...
(22) 18.11.2014(43) 27.07.2020(57) Summary of the corresponding patent EP2881377 (A1): In bekannten Verfahren zur Herstellung von Zementklinker wird ein CaCo3-haltiges Rohmehl in einem Kalzinator...
(22) 20.03.2020(43) 09.07.2020(57) Method and installation for calcining cement raw meal in a calciner whereby fuel and a calciner oxidant having an oxygen content of at least 30% vol. are introduced...
(22) 19.12.2018(43) 29.06.2020(57) The present invention is a low-temperature calcined cement clinker comprising Iimit and calcium silicate, the cement clincher is a low-grade limestone having a CaO...
(22) 04.11.2019(43) 22.05.2020(57) In a method for analyzing samples of a gas in a rotary cement kiln by means of at least one gas sampling probe, a first and a second gas sampling probe are provided,...
(22) 14.01.2019(43) 23.07.2020(57) It is disclosed a process and a plant or assembly of stages for producing soda lime (NaOH) and carbon dioxide, said plant comprising optionally an initial section or...
(22) 14.11.2019(43) 16.07.2020(57) A method/system for sequestering carbon dioxide from cement and lime production facilities wherein carbon dioxide from flue gases originating from cement or lime...
(22) 21.12.2018(43) 24.06.2020(57) Die Erfindung betrifft ein Verfahren zum Verwerten eines phosphorhaltigen Ausgangsstoffes (24) bei der Zementklinker- und/oder Zementproduktion in einem Zementwerk...
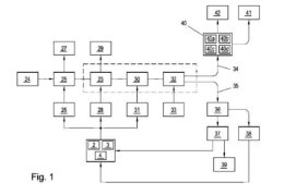
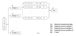
(22) 26.11.2019(43) 02.07.2020(57) An energy-saving optimization method of a cement raw material vertical mill system. Safe, convenient and reasonable auxiliary decision-making is smartly provided by...
(22) 29.11.2018(43) 09.06.2020(57) The present invention is a cation extraction unit for selectively extracting cations using an extractant from waste discharged from the cement production process; a...
(22) 02.08.2019(43) 20.05.2020(57) The present invention is directed to a method and a pathway to capture and use carbon dioxide, which is produced by cement plants. (71) Linde Aktiengesellschaft,...
(22) 27.12.2018(43) 30.06.2020(57) The present invention relates to an apparatus for collecting carbon dioxide in exhaust gas of a cement sintering process to increase the efficiency of the collection...
(22) 28.06.2017(43) 04.06.2020(57) A valve sack for bulk material such as cement, gypsum, pellets, animal feed, or similar having a stand-up base, preferably a cross-base or a block base, and having a...
(22) 01.02.2019(43) 06.08.2020(57) Disclosed are exemplary method and system for manufacturing cement in a vertical roller mill (VRM) using humidity sensor readings. This enables adjustment of...
Recovered raw materials have to be transported from the quarry to the factory or port, often over uneven ground and across populated areas. Companies often choose trucks for transportation. As an...
Microbiologically Induced Corrosion (MIC) causes severe concrete deterioration in pipelines, manholes and sewer structures. This process is caused by sulfuric acid producing bacteria which mainly...
Chalk occurs in northern Europe from the southern UK to eastwards deep into Russia. It is exploited as an industrial mineral for a large variety of uses. From the examples of three different chalk...
Gypsum-based binders are generally based on the reaction between calcium sulfate hemihydrate (HH) and water to form calcium sulfate dihydrate (DH). Often gypsum can be used as a raw material to obtain...
Nowadays the technologies available especially for dust filtration are applicable in a temperature range lower than the temperature of exhaust gases. WHR is a valid technology to “extract” heat from ...
The lime industry is investing in modern kiln technology and fully automated hydration plants with the aim of improving quality, reducing costs, and minimizing the impact on the environment. The...
Isolava produces plasterboard blocks for the construction industry. The Belgium company looks back on a long tradition: founded in 1963 and part of the Knauf group since 1990, Isolava manufactures...
EU regulations, coal phase-out and the construction boom are among the many reasons these days for making the recycling of gypsum highly attractive. However, the process needs to be cost-efficient....
There are high demands on the processing of compressed air, which is required in large volume flows for cement production. In central compressed air stations, adsorption dryers and filters downstream...
For cost reasons, permanently installed continuous condition monitoring is typically used only for production machines that are directly process-critical. In the process manufacturing and automation ...
Martin Engineering has introduced a conveyor belt cleaner position indicator that monitors the blade, tracking and reporting remaining service life. The intuitive Martin N2 Position Indicator (PI) ...
Speaking about the development of the German cement market, Christian Knell, President of VDZ, says: “It has rarely been so difficult to make a forecast as it is this year”. Since March 2020 the ...
The cement producer SemeyCement has placed an order with Gebr. Pfeiffer for a vertical mill of type MVR 5000 C-4 to grind various types of cement. This state-of-the-art mill will be installed at the ...
Since 2019, the new cement classifier at Kakanj Cement, a company of the HeidelbergCement Group located in the heart of Bosnia and Herzegovina, has been in successful operation.The Austrian-based...
Tamer Eid has been named as the new President for the Australia region, effective 14 September 2020. Over his career, he has held various senior executive and technical roles in the mining and oil and...
The conversion or replacement of existing Aumund conveying equipment, as well as non-Aumund equipment has been an integral part of the technological expertise of the Aumund Group for more than 30...
Dear readers, at the end of September, I shall be leaving Bauverlag and therefore also the trade journal ZKG Cement Lime Gypsum to take on a new professional challenge, which I am looking forward ...