测试详情页广告位2
Content

Associations

Sustainability

Column

Occupational safety

MARTIN ENGINEERING

Service contractors: Results come down to training

High-volume belt conveyor systems are among the most hazardous pieces of equipment in any bulk handling operation. Maintaining the delicate balance between production demands and efficiency can be a challenge for any internal maintenance team.

more

Patents

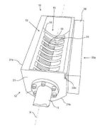
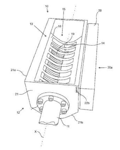
WO 2024/142929 A1

Method for manufacturing cement composition

(22) 13.12.2023(43) 04.07.2024(57) Provided is a method for manufacturing a cement composition in which carbon dioxide is immobilized. The method is capable of reducing the reaction time between...

more
US 2024/0199482 A1

A crystallization method of gypsum

(22) 29.10.2021(43) 20.06.2024(57) Wasted gypsum boards are crushed and calcined to gypsum granular solid, and the gypsum granular solid is mixed with water to form gypsum slurry. Gypsum particles are...

more
WO 2024 128216 A1

Cement composition and hydraulic composition

(22) 12.12.2023(43) 20.06.2024(57) Provided are a cement composition that contains a crushed product of a sintered material as a cement admixture, that has excellent strength development, and that can...

more

Event Preview

EUROPEAN MORTAR SUMMIT

Announcement: European Mortar Summit 2025

The European Mortar Summit 2025, the leading event for the mortar industry, will have a revival in 2025 and is set to take place in Düsseldorf from June 26-27. It is a platform for the mortar industry...

more

Process

Interview

“Evolving the well-established”   Interview with Dr Martin Schneider

In the following interview, Dr Martin Schneider, Chief Executive of VDZ, explains what the biggest challenges and bright spots in the industry are at the moment, what contribution VDZ‘s CO 2 Roadmap will make to climate neutrality in the industry, and what key topics participants can look forward to at the 9th International VDZ Congress.

more

Companies

Spotlight

VDMA

Overall disappointing order situation

In June 2024, incoming orders in the mechanical and plant engineering sector remained significantly below the previous year’s figure. Orders fell by 9% in real terms. Domestic orders were down 8%,...

more

Editorial

Get together

Dear readers, The cement industry is facing major challenges, and the timetable - the VDZ roadmap - is in place. There are many ways to achieve climate-neutral cement and binder production.

more