The 14th TÇMB International Technical Seminar and Exhibition will be held in Belek, Antalya/Turkey, between 10.10.-13.10.2017. The 14th edition of our event is open for both national and international ...
The project to modernize the Maryneal plant in Texas/USA (MN32: Maryneal 3200 t/d of clinker) was officially presented to Buzzi Unicem management, local authorities and plant employees at the end of...
FLSmidth has been awarded an order from Cielo Azul Cementos y Calizas S.A. for engineering, procurement and supply of equipment for a complete cement plant. The plant will be located near the city of...
Approx. 27.5 million t of cement were used in Germany in 2016 (2015: 26.6 million t). This figure is roughly 3.2 % higher than in the previous year. The German Cement Works Association (VDZ) is...
The Chinese Chengdu Design & Research Institute signed a contract with Claudius Peters for the delivery of an ETA cooler. Claudius Peters convinced the final customer of their advanced technology and...
Following an application of the company, the Local Court (Amtsgericht) of Mannheim/Germany supplemented the Supervisory Board of HeidelbergCement AG by appointing Margret Suckale as a member in the...
Loesche is contributing four vertical roller mills to the new cement plant of the German technology firm Aunde in the Turkish region of Soma: one mill for grinding up to 350 t of raw material per hour...
Prof. Dr. Hans-Ulrich Hummel, executive board member at Knauf Gips KG, died at the age of 63 on 18.08.2017. Prof. Hummel occupied positions of responsibility at Knauf in Iphofen since 1992, where he...
The Chinese design institute NCDRI awarded a contract to Claudius Peters for the delivery of two cooler conversions. The final customer, Askari Cement in Pakistan, converts two grate coolers to modern ...
On 01.07.2017, a new company was incorporated under the umbrella of the Aumund Group, and 49-year-old Erwin Last became its Managing Director. Aumund Group Field Service GmbH has its registered ...
Ibausil, the International Conference on Building Materials, will take place in Weimar/Germany already for the 20th time on 12.09.-14.09.2018. Headed by the Director of the F.A. Finger Institute for ...
From 08.11.-11.11.2017, at the Institute of Mineral Engineering of the RWTH Aachen/Germany is held an intensive refractory seminar. The event covers the whole range of refractory from raw materials to...
Whether in open-pit or underground mining, for steep inclines or across distances spanning kilometers – conveyor belts are the core component of many industrial sectors. In harsh operating conditions,...
Over the past few years, mine surveying with the aid of unmanned aerial vehicles (UAVs) has emerged as a novel mapping technique in which drones are used to obtain images for photogrammetric analysis...
Martin Engineering has introduced a portable vibrator that activates the free flow of bulk materials from closed-top hopper railcars. With one of the highest force to weight ratios available in the...
In almost twenty years from its introduction, Silotop has become a global benchmark for silo venting and de-dusting applications. WAMGroup is proud to announce the upcoming launch of a new generation ...
In another move toward “smarter” material handling, Martin Engineering has introduced an automated pneumatic tensioning system for belt cleaners. The new offering delivers precise monitoring and ...
Aware of its responsibility to minimize the impacts of its production process, the cement industry signed an agreement during COP 21 (Paris December 2015), which includes a commitment to reduce carbon...
The consistent expansion strategy Scheuch has pursued is being rewarded with the highest incoming order value ever since the company was founded 50 years ago. The leader in technology for clean air ...
The multichamber shaft kiln at Leube Kalkwerk limeworks in Golling/Austria, is an extremely hard worker: Since its installation in 1989, it has been producing 200 t of burnt lime – that’s eight fully ...
The internationally leading trade fair of the packaging sector and related process industries “interpack” takes place every three years in Düsseldorf/Germany. This year’s fair was held from...
The Eurosac Congress 2017 “Performance powered by nature. Let’s talk!” was held in Hamburg/Germany from 08.06.-10.06.2017. The congress invited participants to engaging discussions about the recent...
Marking the 111th anniversary since its founding, Loesche GmbH invited customers from all over the world to come to Düsseldorf for this year’s Loesche Symposium. The event held in Düsseldorf and...
At the BVK Annual Meeting in Berlin, on the occasion of which the German lime industry’s trade organization celebrated its 125th anniversary, outgoing President Dr. Thomas Stumpf explained the ...
Michael Brachthäuser (62) has been Director of the Center of Competence Cement at Beumer Group since 01.10.2016. In this function, he controls and coordinates the global competence center for the...
The lime production and supply company Singleton Birch Ltd. is the owner and operator of the Anaerobic Digestion (AD) facility Melton Ross in North Lincolnshire (UK). The facility was established in...
Respiratory issues associated with limestone extraction and processing are among the oldest recognized workplace safety hazards. Modern limestone handlers often take a number of safety measures,...
The cement industry in Turkey is very competitive. Large new capacity has been installed, driven by a robust domestic cement demand growth and large exports. The question is how will the demand growth ...
Whether it’s in the cement, chemical or feed industry, reliable quality assurance requires companies to constantly monitor the quality standards, and to guarantee a comprehensive traceability. The...
This paper presents the results of component modelling work performed around a closed-circuit cement grinding operation. In this context, the ball mill and the air classifier were modelled by applying...
The influence of nano-TiO2 (NT) on the rheological parameters, fluidity, setting time and pore structure of sulphoaluminate cement (SAC) composites is studied and the influence mechanisms are...
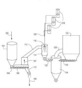
(22) 28.10.2014(43) 29.06.2017(57) A method includes optically interacting a bulk material or powder stored in a storage bin with an integrated computational element („ICE“) configured to modify an...
(22) 21.11.2006(43) 30.06.2017(57) Summary of corresponding patent WO2007057512 (A2): A method for feeding lime mud into a lime kiln including a rotary kiln shell having an interior between a first...
(22) 18.08.2011(43) 31.07.2017(57) Summary of the corresponding patent WO2012024511 (A1): A method for treating cement kiln dust is provided. The method includes the steps of receiving cement kiln...
(22) 12.01.2017(43) 27.07.2017(57) A feed apparatus (3) for feeding cement to a cement silo (2) of a mining machine (1) comprises a receptacle (5) for receiving cement, a transfer tube (6) connected...