The drive specialist Flender has been awarded the German Sustainability Award 2024 in the mechanical engineering category. The challenges posed by climate change, resource scarcity, species loss, and...
Loesche announces the release of its second sustainability report, detailing the company’s strides towards environmental, social, and governance (ESG) excellence throughout the calendar year 2022....
We are all familiar with the concept of the PID controller, as it is used in numerous applications in our plants every day to ensure that production is as stable and target-driven as possible. Even if...
Conveyors are among the most dynamic and potentially dangerous equipment in bulk handling. The operational basics of belt conveyor systems regarding the hardware installed and the performance required...
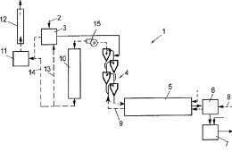
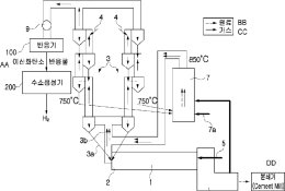
(22) 01.07.2022(43) 02.11.2023(57) The present invention relates to a system for capturing and recycling carbon dioxide and producing hydrogen for a cement manufacturing facility. An embodiment of the...
(22) 21.04.2023(43) 02.11.2023(57) The present invention relates to a method of producing calcium oxalate from calcium carbonate the method comprising 0 the steps of: (a) producing CO2 by contacting...
(22) 19.04.2023(43) 26.10.2023(57) A method of processing exhaust gas from a cement plant and a cement production unit, the cement plant comprising one or several raw meal mills for milling a cement...
(22) 14.04.2023(43) 19.10.2023(57) In the method for manufacturing cement clinker raw materials which include at least one stainless steel slag material are calcined and burned to produce the cement...
(22) 04.04.2023(43) 29.11.2023(57) The disclosure discloses a vibrating feeder for cement production, which relates to thetechnical field of cement production, and includes a feeding box. The feeding...
(22) 18.05.2023(43) 23.11.2023(57) A process to enhance the pozzolanic activity of a natural inactive sedimentary pozzolan and the pozzolanic material formed by the process are described. The process...
(22) 29.09.2023(43) 16.11.2023(57) A cement clinker producing system, capable of providing a gas containing a carbon dioxide gas at a high concentration by increasing a carbon dioxide gas...
(22) 01.11.2022(43) 26.10.2023(57) Provided are a gypsum set accelerator wherein the gypsum set accelerator is a dry-milled mixture comprising calcium sulfate dihydrate co-ground with one or more of...
(22) 14.06.2023(43) 26.10.2023(57) Aspects of the invention include a method of producing a cement material comprising step of: first reacting a calcium-bearing starting material with a first acid to...
(22) 26.04.2023(43) 20.11.2023(57) The invention applies to construction and construction materials testing techniques. In other words, on microstructure disturbance assessment of cement composites...
(22) 12.04.2023(43) 18.10.2023 (57) A method for purification of fume gases from carbon dioxide (CO2) by carbonizing small-piece moulded products from lime-containing mixtures, characterized in that...
Fly ash, slag powder, and metakaolin were used as the main raw materials to prepare the ternary alkali-activated cementitious materials, and the compound alkali-activated cementitious materials with...
The decarbonisation of energy-intensive industries obliges to rethink current production processes. Considering the cement industry, a roadmap for its decarbonisation should investigate the potential...
The pyrolysis of RDF under nitrogen conditions was analysed by thermogravimetric infrared (TG-FTIR), while the gas products (CO, NOx and SO2) were investigated during the pyrolysis of RDF with 0.00g,...
A gypsum recycling plant owned by MUEG Mitteldeutsche Umwelt und Entsorgung GmbH (referred to as “MUEG” below), one of four such plants currently in operation in Germany, is located in the Störmthal...
VDZ President Christian Knell welcomed the Annual Cement Conference 2023 (Jahrestagung Zement) with clear words: The world is currently in permanent crisis mode.
FORUM:BAU 2023 was all about the future of construction. The construction of the future must be different from the construction of the past and present - there was a consensus on this at the FORUM:BAU...
Carbon2Business innovation project of Holcim Germany receives two awards at the UN Climate Change ConferenceFrom November 30 to December 12, 2023, the Conference of the Parties (COP) took place, it...
The Micropilot FWR30 IIoT radar sensor measures fill levels in mobile tanks, containers and silos. The values are sent to the cloud so that they are available at any time and from anywhere. Close...
thyssenkrupp Polysius and Schwenk Zement have jointly developed a new process and technology that enable the activation of any type of clay without thermal energy and fossil fuels.
With fourteen machines already installed in Mexico, Cementos Moctezuma S.A. de C.V. has once again selected the FCB Horomill technology to increase the cement production capacity of its Tepetzingo...
Dr. Peter Selders takes over as CEO, Matthias Altendorf new president of the Supervisory BoardEndress+Hauser has completed the announced change at the top of the Group: Dr. Peter Selders has taken...
As of January 1st 2024, Jose Antonio Nieto of Putzmeister Iberica and ANMOPYC is the new President of CECE. After serving as Vice-President for the past two years, he is now taking over this...
Siam City Cement (Lanka) also known as INSEE Cement ordered one SpectraFlow Airslide Analyzer plus a Raw Mix Proportioning Software for the biggest cement manufacturing line in Sri Lanka to optimize...
After two years of intensive work, the final report of the Recycling Raw Materials Dialogue Platform commissioned by the Federal Ministry for Economic Affairs and Energy from the German Raw Materials...
Memorandum of Understanding signed at COP28 in Dubaithyssenkrupp Polysius and Fujairah Cement Industries (FCI), United Arab Emirates, intend to cooperate in the future to reduce CO2 emissions in FCI’s...
In the article “Enhancing alternative fuel usage at the rotary kiln burner with AF-Booster®”, published in ZKG 7, 2023, pp. 52 – 56, a picture (Figure 1a) of a Flash Dryer for alternative fuels which...
VDZ introduces its new seminar and training programme for 2024/25, which ranges from teaching technical basics and expertise for professionals to further training programmes for managers.
Mondi has brought together industry leaders in an expert round table to discuss how to improve the circularity of used paper bags in the construction industry. The event, which was held on 16 November...
On 22 January 2024, FLSmidth Cement sold its MAAG gears and drives business to the Swedish investment company, Solix Group AB. The transaction is expected to close during the first quarter of 2024 and...
Up-to-date, practical and present: For the first time, the DBI Expert Forum CO2 will take place in Geseke from 06-07.03.2024. Presentations will discuss the possibilities, potential and applications...
Loesche GmbH, one of world’s leading suppliers of grinding plants and process solutions for the cement industry, has successfully acquired the valuable know-how of the renowned company Ruhfus...
In a significant step towards combating climate change and advancing a green economy, the European Bank for Reconstruction and Development (EBRD) has teamed up with A³&Co., to lead a transformative...
Cembureau, the European Cement Association, and EFBWW, the European Federation of Building and Woodworkers, started a common project on mapping skills’ needs in the cement sector for 2030-2050. The...
Cemex Germany has expanded its range of bagged cements to include the Portland composite cement CEM II/C-M (S-LL) 42.5 N “CZ”. This new clinker-efficient cement is the result of many years of product...
The Portland Cement Association urges the U.S. Environmental Protection Agency (EPA) to reconsider enforcing a proposed lower, fine particulate matter (PM) National Ambient Air Quality Standard...
As part of a current research project “ProcessLIB” OWI Science for Fuels gGmbH is developing a library of numerical models of thermal processes. The aim here is to unlock till now unrealized...
Dear readers, Another new, as yet unfulfilled year lies ahead of us: new and interesting tasks and challenges, certainly many interesting developments and a whole series of trade fairs and conferences.