Dear readers of ZKG International, another year is drawing to a close, leaving us wondering just where all the time has gone. But before we plunge into a new, exciting year with a host of fresh ...
A customer from the Indian cement industry, Kolkata-based Shree Cement Ltd., ordered a TRT 5000/8.0 Triplex dryer from Gebr. Pfeiffer.As in many countries, the power supply from the electrical network...
On 01.09.2018, Aumund Fördertechnik GmbH appointed Dr.-Ing. Pietro de Michieli as its new Managing Director, to focus on equipment sales, spare parts, after sales service and Premas® 4.0, at the...
While other companies are closing their German external sales services, Haver & Boecker is investing in its sales channels with its own company. In order to focus even more strongly on the needs of...
The World Cement Association (WCA) released the WCA Climate Change Action Plan, the association’s manifesto for delivering its contribution to the objectives of the Paris Agreement to keep the global...
GCP Applied Technologies Inc., a leading global provider of construction products technologies, announced the issuance of a patent for increasing the efficiency of cement grinding by using sustainable...
Sika is opening a new production plant for concrete admixtures near Yekaterinburg/Russia. In the area around the plant, there are five cities with populations of over one million and attractive...
Gebr. Pfeiffer initially formed a representative office in Malaysia in 2016 and have most recently established a private limited company to more fully support their clients in the Southeast Asia...
Gebr. Pfeiffer (India) Pvt. Ltd., the Indian subsidiary of Gebr. Pfeiffer SE, Kaiserslautern/Germany, has received an order to supply another mill to the Himalayan state of Nepal.Samrat Cement Company...
At the end of August 2018, MC-Bauchemie founded a new sales company in Denmark, MC-Bauchemie Danmark ApS. The new affiliate is based in Slangerup in the Copenhagen area.Klaus Lebæk and Walter Devue...
Sinoma EE Overseas Development has awarded Aumund Beijing a substantial machinery order for supply to Limak Çimento Sanayi ve Ticaret A.S. at Kilis/Turkey. Three Aumund belt bucket elevators, five...
Aumund Fördertechnik GmbH has been active in Russia and the CIS countries for over 20 years. In this period more than 1000 Aumund machines have been supplied, mainly to the cement industry, but also...
At present, Loesche is delivering another two vertical roller mills for Guangdong Tapai Co., Ltd. for its two 10000 t/d cement clinker production lines in Jiaoling, Meizhou, Guangdong Province. This...
Dr. Jennifer Scheydt is the new head of the Engineering & Innovation department at HeidelbergCement in Germany, based in Leimen. She succeeds Eckhard Bohlmann who has retired. The main task of the...
Since October 2017, Maerz is able to offer a completely new product line: with the integration of Elex CemCat AG we supply in our new business unit “CemCat” Selective Catalytic Reduction (SCR) plants...
Refratechnik, Haicheng Guotian Mining and Yingkou Jinlong Refractories have signed a joint venture contract for the production of high-grade caustic calcined magnesia (CCM) and dead burned magnesia ...
The cement and concrete sectors play an important role in the European economy where the cement demand represents 5 % of the global market. But while cement and concrete are needed for construction ...
The Algerian company BCB Baslimane Chaux Berriane placed an order with Maerz for a 300 t/d natural gas-fired Maerz PFR kiln of type E5, including the up- and downstream plant equipment. The dolomite ...
A high-caliber program, prominent speakers and collegial networking have been hallmarking the BetonTage in the German city of Neu-Ulm for many years now. The annual industry event will run for the ...
On 11.10.-12.10.2018 aixergee GmbH successfully hosted its annual workshop-seminar on options to optimize the production of cement manufacture with high ranking participants from the international ...
Five months before the start of the trade fair for construction machinery, bauma, on 08.04.2019, Messe München can already announce a new record number of exhibitors: More than 3500 exhibitors from 55 ...
After six fruitful years of collaboration, HeidelbergCement and BirdLife International have renewed their global partnership, which is based on the shared values of promoting biodiversity while using...
Sika is expanding its presence in Kaz-akhstan and strengthening its position in two of the country’s growth regions. To reinforce existing production operations in Almaty in the southeast of the...
Passport, an online product selection program, now offers users an application-based approach to quickly and easily design and order mechanical products used in belt conveying applicationsABB enables...
One hundred years ago, Emil Dierzer Ritter von Traunthal and Adolf Hofmann founded a cement plant in Kirchdorf an der Krems/Austria. Since then, that very traditioned, family-owned company has ...
More than 140 attendees met from 19.09.–21.09.2018 for the 5th Alternative Fuels Symposium in Duisburg, organized by MVW Lechtenberg & Partner. On the first day, the programme included a visit to a...
More than 100 delegates from 22 countries and five continents met from 10.10.-12.10.2018 for the General Assembly and Information Exchange Forum of the International Lime Association (ILA) in Cape ...
thyssenkrupp has established itself as a full-service provider in the cement industry. We talked to Dr. Luc Rudowski, Head of Product Management, Technology, Innovation and Sustainability at the ...
The following presentation focuses on PFR kilns, explaining their process engineering and discussing the authors’ proposal for simplifying the geometry of PFR kilns in order to achieve cost savings in...
In the search for an effective way of increasing the early strength of cement systems containing a high volume of fly ash (CHVFA), nano-silica (NS) was used in the CHVFA systems with two curing modes:...
The effect of 0.5 wt.% lead nitrate on the early hydration of high alumina cement (HAC) that contains spinel was examined by isothermal calorimetry, XRD, TG-DSC and SEM. Lead nitrate affects the...
Recently, the attention paid by materials scientists to the research, development and application of Portland cements incorporated with calcined clays has substantially increased. This article...
(22) 08.02.2018(43) 30.08.2018(57) The invention relates to a method for operating an installation (10) for producing cement clinker, said installation having a pre-heater (12) for pre-heating...
(22) 27.02.2017(43) 30.08.2018(57) The present invention relates to a device for manufacturing soil cement and, more particularly, to a device for manufacturing soil cement, wherein continuous...
(22) 18.11.2016(43) 10.10.2018(57) Summary of the corresponding patent WO2017095657 (A1): The present invention provides efficient methods to form a high solids content polymeric polyacid or a comb...
(22) 02.02.2017(43) 25.09.2018(57) Cement production method includes burning clinker in a furnace at the temperature 1450°C, cleaning from a dust with filtration in a filter of furnace gas containing...
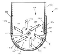
(22) 10.11.2015(45) 25.09.2018(57) Field: machine building. Substance: invention relates to the delivery device suitable for the unloaded cement residues reception, for example, from the concrete...
(22) 31.03.2017(45) 27.09.2018(57) This rapid-hardening mortar composition includes: a rapid-hardening admixture; cement; and a fine aggregate, wherein the cement is contained in an amount of 100...
(22) 08.03.2018(43) 20.09.2018(57) A method for using fly ash, said method comprising: measuring the unburned carbon content of fly ash (PCF ash) generated from a pulverized coal combustion boiler;...
(22) 20.03.2017(43) 27.09.2018(57) A method of cementing a wellbore comprises injecting into the wellbore a cement slurry comprising an aqueous carrier, a swellable nanoclay, and a solid delayed...
(22) 23.03.2018(43) 04.10.2018(57) The present invention relates to the production of a mortar made of cement and polypropylene plastic waste for manufacturing beam fill pieces for one-way slab...
(22) 23.03.2018(43) 04.10.2018(57) The invention relates to a hydraulic cement formulation that allows the content of clinker to be substantially reduced, the hydraulic cement formula comprising...
(22) 03.04.2018(43) 11.10.2018(57) The present invention pertains to a use of calcium carbonate having an average particle size in the range of from 0.5 to 3 μm, preferably of from 1 to 3 μm, in an...