It was not only free trade and open markets that determined the catalogue of topics at this year‘s World Economic Forum Annual Meeting in Davos – climate protection has become a central focus. On ...
Cemex announced that its U.S. affiliate, Kosmos Cement Company, a partnership with a subsidiary of Buzzi Unicem S.p.A. in which Cemex holds a 75 % interest, has signed a definitive agreement for the...
Roland M. Andersen was appointed Chief Financial Officer and member of Group Executive Management. He joins FLSmidth from NKT and brings 25 years of solid experience and new competences through his...
The World Cement Association announced that PPC, a leading provider of cement, lime, ready-mix concrete and aggregates across sub-Saharan Africa, has joined WCA as a Corporate Member. With over 3300...
Gebr. Pfeiffer has appointed Timothy Burden as President of Gebr. Pfeiffer, Inc., who took over the reins at the Florida/USA subsidiary starting 01.01.2020.Since joining Gebr. Pfeiffer in 2017, Tim...
Cemex has announced that one of its subsidiaries has signed an agreement for the sale of certain assets in the United Kingdom to the Breedon Group, for a total consideration of approximately US$ 235...
Since 01.01.2020 Niklas Nillroth is the new President of CECE. He succeeds Enrico Prandini of UNACEA & Komatsu. The CECE presidency is a rotating post held for two consecutive years by each of the...
Ultratech Cement Ltd., the sixth largest cement manufacturer in the world and also India’s largest cement manufacturer, has opted for the latest MVR mill technology from Gebr. Pfeiffer. Hence 17 MVR ...
In November 2019, Solnhofer Portland Cement awarded Intercem the contract for the engineering, planning and installation of two coal dust dosing systems. The existing plant was recorded by laser scan...
On 06.12.2019, the four European cement producers Buzzi Unicem – Dyckerhoff, HeidelbergCement AG, Schwenk Zement KG and Vicat founded the joint research corporation CI4C – Cement Innovation for ...
The World Cement Association has held its final board meeting of 2019 in Dubai/UAE, taking the opportunity to review progress made so far and set priorities for 2020 and beyond. A key focus will be on ...
A recent study found that paper sacks and form-fill-seal (FFS) polyethylene sacks provided equivalent protection for cement when stored for 18 months under the same conditions. The study was conducted ...
Sika is starting the operations of a new mortar plant at its existing site in Addis Ababa/Ethiopia, thus expanding its portfolio of locally manufactured products. After building a production facility...
The ALC Prize is one of Austria’s most important business awards. For 21 years now, „Die Presse“, KSV 1870 and the professional services firm PwC have been bestowing distinction on companies in...
Another customer could be convinced of the many advantages of Gebr. Pfeiffer’s vertical roller mills with integrated gypsum calcination: PT Siam-Indo Gypsum Industry has ordered an MPS 180 GC for its...
In many industries, monitoring the mixing process is necessary for reasons of quality assurance, particularly if plants are working automatically, without direct control by a designated member of...
Underground mining conditions can be extreme for man and machine – and high temperatures are just one of the challenges to be overcome. Flexco Europe GmbH offers conveyor belt system operators special...
FLSmidth is bringing the digital revolution to the cement and mining industries with a new generation of products focused on delivering real-time data on the go. These latest products form part of the...
HeidelbergCement’s North American subsidiary Lehigh Cement and the International CCS Knowledge Centre1 announced a feasibility study of a full-scale carbon capture and storage (CCS) project as a...
On 06.11.2019, FLSmidth launched MissionZero, a new sustainability programme aimed at significantly reducing emissions across the global cement and mining industries by 2030. Central to MissionZero is...
From 23.09.-25.09.2019, around 130 attendees met for the 6th Alternative Fuels Symposium in Duisburg, which was organized by MVW Lechtenberg & Partner. The field trip traditionally arranged on the...
The Austrian specialist in shredding technology and system solutions for waste processing invited guests to the Lindner Atlas Day on the scenic Lake Wörthersee on 01.10.2019 to present the eponymous...
Ash Grove Cement is the 5th-largest producer in the United States, shipping 8.3 million t of Portland and masonry cements from eight plants nationwide. Founded in 1882, the firm currently operates 27...
The three biogas plants which Birch Energy owns and operates since 2014 continue to perform well and produce around 23 GWh/a electricity to meet the demand of the Singleton Birch lime works.
In the extraction and production of high-grade aggregates, the formation of finely dispersed particles is unavoidable. Up until now, these rock powder were only partly or not utilized at all. A...
This study focuses on the effects of synthetic slag as an alternative to the existing, commercially available, GGBS slag in terms of the compressive strength of slag blended cement (SBC) pastes....
To obtain information on the ash composition of solid recovered fuels (SRF), initial investigations have been carried out in production plants for quality assured SRF. Results of these investigations...
RDF production from Municipal Solid Waste (MSW) is not common in developing countries where basic landfills are the standard. The example from Cilacap/Indonesia shows that RDF production can be done...
The Turkish cement manufacturer Votorantim Cimentos is a member of the Votorantim Group. The group, based in Brazil, is one of the eight biggest cement manufacturers in the world, with more than...
(22) 27.01.2017(45) 16.03.2018(57) Field: construction. Substance: invention relates to the field of construction materials and can be used for the production of mortars and unfired construction...
(22) 31.07.2019(43) 01.11.2019(57) Summary of the corresponding patent EP3293159 (A1): Zum Brennen von Kalk oder Zement wird Synthesegas erzeugt und gegebenenfalls zusammen mit fossilen Brennstoffen...
(22) 28.03.2018(45) 29.10.2019(57) A method of providing highly reactive hydrated lime and the resultant lime hydrate where an initial lime feed comprising calcium and impurities is first ground to a...
(22) 06.11.2017(43) 14.11.2019(57) Summary of the corresponding patent FR3059315 (A1): Procédé de production d’un gaz de synthèse contenant du CO et de l’H2 à partir d’un flux d’hydrocarbures légers...
(22) 05.10.2017(43) 14.11.2019(57) The present invention relates to methods for the production of air-cured fiber cement products. More particularly, the present invention provides methods for the...
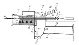
(22) 01.04.2019(43) 17.10.2019(57) The invention relates to a system for producing a cement clinker for the additional production of white cement, having a rotary kiln (15) for sintering...
(22) 16.05.2018(43) 07.11.2019(57) A method for preparing aluminosulfate cement using cyanide tailings, comprising the following steps: (1) preparing cyanide tailings, lime and an aluminum material as...
(22) 26.04.2019(43) 07.11.2019(57) The invention relates to methods and installations for producing cement clinker without recirculation of the preheater exhaust gases, wherein, in said preheater, the...
(22) 26.04.2019(43) 07.11.2019(57) Methods and systems for the production of cement clinker, wherein an oxygen-containing gas, which has a proportion of 15 vol.% or less of nitrogen and a proportion...
(22) 10.04.2019(43) 14.11.2019(57) A gypsum-based dry-mix mortar for 3D printing and a preparation method therefor, the dry-mix mortar comprising a first cementing material and a second cementing...
Cement plants are constantly in optimization mode: in sold-out markets, production output must be maximized, while in saturated markets production costs must be minimized. Tighter environmental ...