With combined strength, people all over the world have risen to the challenges of the Covid-19 pandemic in recent months. The spirit of cooperation and creativity unleashed by the crisis show that ...
Following the successful implementation to date of the Group strategy “Strategy 2022 – Building for Growth”, the management of Holcim Switzerland and Italy will be handing over the reins in October:...
CalPortland® has awarded a supply contract to FLSmidth for their Mojave Raw Mill Project. The scope of supply includes engineering, equipment and installation of a new OK® 48-4 Raw Mill with a...
Mondi Paper Bags, part of the Mondi Group, has acquired two paper bag lines from Helwan Cement Company and InterCement Sacs, two major cement producers in Egypt. Helwan Cement is a subsidiary of the...
Thousands of travelers who connect to global destinations through Atlanta Hartsfield-Jackson International Airport, the busiest airport in the world, are now taking to the skies by utilizing a...
Gebr. Pfeiffer has again set a milestone by selling another ready2grind system, which was successfully brought on line in early December. This deal, which saw the mill manufacturer supply its modular ...
As a consequence of the Corona pandemic, many companies had to downsize operations or even shutdown totally unless they were deemed “essential” to healthcare or infrastructure. However, the Austrian ...
Taiheiyo Cement Corporation, one of Japan’s largest cement producers, fires its new power plant in Ofunato with both biomass and coal. Until now conveying of biomass in Japan has been dominated by ...
FunderMax and Alpacem are planning the future joint procurement of replacement raw materials and fuels. The aim is to strengthen the circular economy and thus to intensify environmentally conscious ...
A third kiln for the lime plant Mexicana de Cobre/Mexico Not far away from the Sonora desert, in the same-named federal state of Mexico, two Maerz kilns erected in 2009 and 2014 are performing to the...
Lafarge Zementwerke GmbH – a company of the LafargeHolcim Group – has had a new CEO since 01.07.2020. Berthold Kren (49), previously responsible for Geocycle Asia at LafargeHolcim, succeeds José...
The 6-year agreement will see FLSmidth providing hot kiln alignment services to Dangote kilns in Ethiopia, Tanzania, Zambia, Congo, South Africa, and Nigeria. Nigeria is the largest market covered in...
The Simine portfolio for high-pressure grinding mills (HPGR) has been extended to include a new Load Share Controller. Plug-and-play functionality makes it available for immediate use. The...
For more than 60 years VDZ’s research institute in Duesseldorf has been the home and focal point not only for many generations of its employees but also for the representatives of the cement industry....
The gypsum industry is undergoing a number of very important changes. The Covid-19 pandemic is having a major impact in 2020, but despite the projected decline this year, the future looks bright. This...
Cement production would be impossible without refractories. However, the potential for saving CO2 emissions through the selection of refractory material and design aligned to each kiln system is often...
Damage associated with water inside the mass are a key threat to a more durable cementitious product. With the help of organosilicon waterproofing agents, such damage can be very effectively...
This paper reports on the fresh, mechanical and durability properties of composite self-compacting concrete made by the substitution of 0%, 50%, and 100% recycled concrete aggregate for natural...
(22) 29.06.2018(43) 15.05.2020(57) Summary of the corresponding patent DE102017114831 (A1): Das erfindungsgemäße Verfahren zur Aufarbeitung von Flugasche zeichnet sich durch eine Mahlung der Flugasche...
(22) 17.05.2019(43) 04.05.2020(57) Cement kiln/lime kiln and high heat consumption devices are continuously heated by burning at least hot steam gas mixture from tire pyrolysis such way that: the...
(22) 22.10.2019(43) 23.04.2020(57) Gypsum derived from waste gypsum boards is calcined and converted into gypsum granules including hemihydrate and/ or anhydrous type III gypsum. The calcined gypsum...
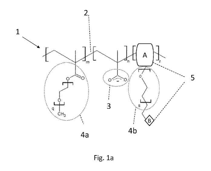
(22) 31.05.2018(43) 23.04.2020(57) A composition including cement, filler, polymer and a compound having epoxide groups and also an amine, wherein the composition contains more than 10% by weight of...
(22) 10.10.2019(43) 16.04.2020(57) The present invention relates to a method for using a secondary or tertiary alkanolamine for grinding cement, comprising: – forming an inorganic acid salt of the...
(22) 23.10.2019(43) 30.04.2020(57) Disclosed is a rotary kiln graded calcination system for the co-calcination of fine materials, the system comprising a pre-heater (1), a transfer chute (2), a rotary...
(22) 25.10.2019(43) 07.05.2020(57) The invention relates to an admixture for a cementitious material suitable to influence the rheological properties of the cementitious material. The admixture...
(22) 20.12.2018(43) 07.05.2020(57) The present invention provides a method and system for manufacturing cement wherein ground particles of cement and calcium sulfate are subjected to infrared sensors,...
For the optimists, Corona is already water under the bridge. If you believe the pessimists, the worst of the pandemic is still to come. But one thing is clear: the industrial economy as well as the ...
More and more companies are using modern information and communication technology to establish so-called blended learning concepts in their organization. This results in new demands on employees, who...
Using Ultra High Performance (fibre-reinforced) Concrete, or UHPC, made it possible for a railway bridge to be built over the Dürnbach River within a few days. With a comparably light pre-fabricated...
Securing automation and IT systems against cyberattacks and manipulation is a top priority in almost every plant and project. However, many operators lack the required expertise to identify risks and ...
Did you notice how differently we have been using the term “alternative” recently? About a year ago, many decisions were still “without alternative”, but today changes to eternal and undeniable laws ...
For 95 years now, Christian Pfeiffer Maschinenfabrik GmbH has been developing system components for grinding plants. The company has always been characterized by its process-controlled approach, which...