Within the last four weeks more than € 30 billion have been accounted as damage from the flood catastrophy in Germany. The damage to the forests by the mediterranean bushfires is yet to be ...
(22) 16.12.2020(43) 24.06.2021(57) The invention provides cement additives comprising calcium sulfate and silica which are derived from a material comprising perovskite and silica, along with cements...
(22) 18.12.2020(43) 24.06.2021(57) A method of producing cement clinker and a second calcined material, wherein the cement clinker is produced in a first production line and the second calcined...
(22) 19.11.2020(43) 03.06.2021(57) The present invention discloses the composition of a mineral additive to be added with cement and concrete to improve the strength and durability of concrete....
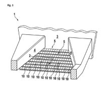
(22) 29.11.2019(43) 02.06.2021(57) Clinker cooling with a cooling grate having a receiving section followed by a second section, heat recuperation from the clinker can be enhanced, if at least one...
(22) 18.12.2020(43) 24.06.2021(57) Systems and methods for the effective sequestration of waste gases from an industrial process such as, but not limited to, one or more lime or cement kilns used in...
(22) 23.12.2020(43) 24.06.2021(57) Cement and concrete compositions are produced via metal hydroxides and metal oxides isolated from aqueous sources such as seawater or wastewater. Aqueous solutions...
(22) 29.08.2019(43) 07.07.2021(57) Summary of the corresponding patent WO2020044288 (A1): The invention relates to a method for reduction of HCl emission from a cement plant based on a treatment of a...
(22) 09.09.2016(43) 07.07.2021(57) The invention relates to additives for producing shaped gypsum articles, shaped gypsum articles comprising these additives, and methods for producing these shaped...
(22) 07.11.2018(43) 17.06.2021(57) A method for preparing an ettringite binder from an aluminosilicate source, a calcium sulfate source and a calcium hydroxide (or slaked lime, CH) source, the binder...
(22) 25.07.2019(43) 02.06.2021(57) Summary of the corresponding patent WO2020021202 (A1): The present invention relates to a novel cement composition for 3D printing, comprising: - 90% to 99.5% by...
(22) 04.12.2020(43) 10.06.2021(57) Improved cement for concrete is provided having reduced carbon footprint and improved mechanical properties. A limestone-free process of making the clinker provides...
(22) 07.09.2020(43) 24.06.2021(57) Disclosed is a method for preparing α-hemihydrate gypsum, the method involving using citric acid as a crystal transformation agent to prepare dihydrate gypsum, and...
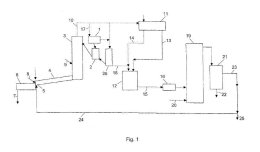
(22) 18.12.2020(43) 24.06.2021(57) In a method of processing exhaust gas containing CO2, such as exhaust gas from a cement production plant, the following steps are carried out: – burning fuel in the...
(22) 26.04.2019(43) 01.07.2021(57) Processes and plants for producing cement clinker, in which an oxygen-containing gas having a proportion of 15% by volume or less of nitrogen and a proportion of 50%...
(22) 12.06.2020(43) 07.01.2021(57) A hydrophobic admixture, for cementitious materials such as cement paste, mortar, and concrete, includes solid polymer particles with a coating of hydrophobic agent...
(22) 02.07.2020(43) 07.01.2021(57) The present invention relates to clinker, in particular cement clinker. The invention provides a method of preparing clinker and extends to clinker prepared in...
For its customer Westarp in Aschaffenburg, Vecoplan implemented an efficient, flexible processing line for a wide range of high-quality refuse-derived fuels. In order to avoid interfaces and minimise...
Conveyor belt cleaners have evolved over the last 50 years from mostly homemade designs to a wide variety of engineered solutions to suit virtually every application. The expectations have changed...
Maximum work safety combined with minimum personnel requirement and simultaneous minimization of downtimes as well as expansion of plant availability? These primary and undoubtedly competing plant...
Formulations of blended cements, in which the carbon- and energy-intensive Portland clinker is partially replaced by supplementary cementitious materials, represent a viable strategy for achieving...
After an interesting drive through an impressively large cement plant, you arrive at Albbrennstoff GmbH in Allmendingen. Why this close proximity to the cement plant? Albbrennstoff GmbH produces...
It is one of the current development trends to utilize cement kilns to dispose of refuse derived fuel. However, there is a problem of unstable pollutant discharge in the actual disposal process. This...
Companies with large heat needs are now searching more than ever for fuels which can be considered CO2 neutral or can at least reduce CO2 emissions. CarbotechnikEnergiesysteme GmbH has developed for...
Maerz Ofenbau AG is developing new lime kilns to achieve global climate goals. The operating mode can be flexibly adapted to the environmental requirements. The kilns can be operated both...
The cement industry is under pressure. The carbon footprint of the cement production has to be reduced significantly, the clinker ratio in cement has to be minimized but the availability of some of...
The standard version of Simotics SD motor series is offered in the efficiency class Super Premium Efficiency (IE4) across the entire power spectrum from 2.2 to 1000 kW and for the number of ...
The reactivity of clinker and cement can now be determined by means of a fully automatic, isothermal calorimeter that can be integrated into laboratory automation systems. Previously, it used to take...
The recovery of the European construction industry is more rapid than initially expected, with much of the losses from the Corona pandemic expected to be recovered in 2021. According to the latest...
The “Environmental Data of the German Cement Industry 2020” now published show how cement manufacturers in Germany are facing up to the environmental challenges of our time. At the top of the agenda...
HeidelbergCement has signed the “Business Ambition for 1.5 °C Commitment”, a global initiative led by the SBTi in partnership with the UN Global Compact and the “We Mean Business” coalition, aimed at ...
In addition to the existing office in Somerset, New York, the Beumer Group has now opened a new office in Denver, Colorado. This merged the offices in Kansas City and Dallas. The new location in...
Titan is creating the smart cement plant of the future with a multitude of cutting-edge solutions leveraging the power of Artificial Intelligence (AI), in the context of the Group’s digital...
The Board of Governors of the National Council for Cement and Building Materials (NCCBM), an autonomous R&D organization under the administrative control of the Ministry of Commerce and Industry,...
July 19, 2021 marked the unveiling of Striatus in Venice, the first-of-its-kind 3D Concrete Printed bridge, designed by the Block Research Group and Zaha Hadid Architects, in collaboration with...
“Let your actions keep pace with your knowledge,” says a Chinese proverb. This also applies to efficient and sustainable management. It is true that iron slag, a by-product from the steel industry ...
Cembureau, the association of the European cement industry, is ready to engage on the “Fit for 55” legislative package published by the European Commission on 14 July 2021. “Delivering deep emission ...
The renewable energy company Enertrag, the global cement manufacturer Cemex and the electrolysis company Sunfire are launching “Concrete Chemicals”, a lighthouse project for the decarbonization of the...
Votorantim Cimentos announced the start of operation of a new production line at its cement site in the Pecém Industrial and Port Complex, in the state of Ceará, Brazil. As a result of this expansion,...
Climate protection, yes, but who, why and how much – these are the exciting questions that no one is daring to tackle right now. You can read interesting thoughts on this subject in our column on page ...