Once a mortar is applied as a thin layer to the substrate, the mortar surface is exposed to the environment and changes its properties over time. In the case of a tile adhesive, the surface of the...
(22) 29.08.2018(43) 07.03.2019(57) A system for reducing NOx emission levels during the manufacture of cement clinker having a calciner unit with the following features: an upper portion; a lower...
(22) 31.08.2017(43) 07.03.2019(57) A calcined lime feeding device, comprising a hopper mechanism (1), a conveying mechanism (2), a lifting mechanism (3), and a feeding hopper (4). An outlet at the...
(22) 31.08.2018(43) 07.03.2019(57) A method of mining gypsum includes: in-situ leaching gypsum in a harvesting bed, such as a leach pad 5, in an existing gypsum resource with a leach liquor and...
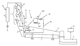
(22) 15.08.2018(43) 28.02.2019(57) A bypass system is used in the system and method for producing cement clinker, wherein a portion of a furnace exhaust gas occurring in a furnace is channeled off as...
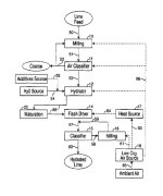
(22) 24.05.2018(43) 21.02.2019(57) The present disclosure provides a cement sintering device and a cement sintering method. The cement sintering device comprises an emitting module configured to emit...
(22) 05.11.2018(43) 07.03.2019(57) Quarry fines and/or limestone powder are used to reduce clinker content in concrete, mortar and other cementitious compositions, typically in combination with one or...
(22) 31.03.2017(43) 07.03.2019(57) Process for operating a cement or lime plant comprising a cement or lime kiln and a calciner, wherein heat is generated by combustion of a fuel in the kiln and/or...
(22) 22.03.2017(45) 05.03.2019(57) A method of providing highly reactive hydrated lime and the resultant lime hydrate where an initial lime feed comprising calcium and impurities is first ground to a...
(22) 19.09.2017(43) 27.02.2019(57) Fly ash, cement composition, and production method for fly ash: Provided are fly ash, a cement composition containing the fly ash, and a method for preparing fly...
(22) 03.03.2017(43) 13.03.2019(57) Summary of the corresponding patent DE102016207720 (A1): Die Erfindung betrifft ein Verfahren zur Herstellung von Zement, insbesondere Weißzement, aufweisend...
(22) 19.04.2016(43) 27.02.2019(57) Portland cements of type and category CEM I 52.5 R are described according to standard UNE-EN 197-1 and which additionally have a granulometric distribution with a...
This article describes the influence of activation of building gypsum in the vortex layer apparatus on the specific surface, setting time, heat release, change in mineralogical composition and...
A method of evaluation is described with which the upper temperature limit of the stability can be determined with the aid of thermogravimetric data records for different heating rates. The dependence...
This article examines the influence of a variety of water-repellent admixtures on the water resistance of hardened gypsum-cement-puzzolan paste based on low-grade gypsum and studies special aspects of...
The German research association Forschungsvereinigung Kalk-Sand e.V. (FVKS) has been involved in the development, production and testing of calcium-silicate masonry products for over 50 years now. Its...
Burnability studies have been carried out to see the effect of different raw materials with different sources and composition on clinkerisation reactions. This burnability study for different raw...
As an alternative to the conventional solution – and at no greater cost – the market leader Masa is equipping its established sand-lime brick presses with hydraulic pumps driven by servo motors. These...
The fourth Building Material Plants Day was held in Frankfurt on 07.03.-08.03.2019, with “big data” the burning issue amongst the participants. The building material plants sector is also affected by...
Since 2006, the Rohrdorfer Group has been investing in the future of Rohrdorf Cement Works with a project entitled “CEM2020”. Apart from aiming for economic success, of course, those efforts have also...
Net sales grew 5.1 % on a like-for-like basis for the full year, largely driven by higher cement volumes. Net sales reached CHF 27466 million. 2018 reported net income amounted to CHF 1719 million....
When machine problems occur, fast action is needed. This is why the Information and Diagnostic Center (IDC) is available 24/7/365 to all W&H customers worldwide. The IDC team can successfully resolve...
Cemex announced that it has reached a binding agreement with Çimsa Çimento Sanayi Ve Ticaret A.S., to divest Cemex’s white cement business, including its Buñol cement plant in Spain, for approximately...
Machinery manufacturer W&H is significantly enhancing its local presence in the Asia-Pacific: With the beginning of 2019 W&H has opened fully-owned subsidiaries with local service and support teams in...
As part of a benchmarking study carried out by the University of St. Gallen, thyssenkrupp Industrial Solutions has been presented with the Successful Practice award for digital services. With the aim...
HeidelbergCement’s subsidiary Italcementi has signed contracts with Buzzi Unicem and Colacem about the disposals of cement plants in the northern and central region of Italy. The involved parties...
In 2018, MVW Lechtenberg & Partner presented the (AFA Award) for the first time. The Alternative Fuel Award was established by MVW Lechtenberg & Partner to encourage the acceptance of the ecological ...
The increasing networking of machines requires more cooperation between manufacturers and customers. Machine language, data management and data security are just a few keywords. The new working group...
The cement plant Lübeck has appointed Intercem to supply a silo unit consisting of four steel silos with a capacity of 1200 m3 each. In addition, the bulk loading and the complex cement conveying via...
The 1980s saw the beginnings of a shift in the cement industry. Slowly and steadily, cement producers began to adopt vertical roller mills (VRMs) for cement grinding instead of ball mills. Fast...
2018 was the strongest year for the European construction equipment sector after the economic crisis of 2008/09: sales on the European market grew by 11 %, and the absolute market level is now 10 %...
ScalingUp 3D, the Interdisciplinary Symposium on Printable Mortars, will take place in Vienna/Austria on 27.06.-28.06.2019. The event is entirely focused on formulation, production and application of ...
One of Russia’s largest cement producers, Eurocement, ordered three mills from Gebr. Pfeiffer for its Akhangaran project in Uzbekistan. The customer’s very good experience gained over decades with Pfeiffer equipment contributed to ...
In a further demonstration of industrial services provider Bilfinger’s expertise in the cement industry, the company’s specialists are installing refractory linings at a cement plant in Poland. The ...
The Portland Cement Association (PCA) released its annual Spring Forecast which envisions strong to moderate growth for cement consumption through 2019 and into 2020. PCA Market Intelligence expects ...
The President of the World Cement Association (WCA), Song Zhiping, presents his plans for a decarbonisation of the global cement industry and takes another step in promoting a sustainable development ...
Pablo Hofelich (41) was appointed CEO of the Cement Technologies Business Unit in the Industrial Solutions Business Area of thyssenkrupp effective 15.11.2018. Pablo Hofelich joined thyssenkrupp as...
Sika is expanding production capacity in Senegal, West Africa, by opening a mortar production facility at its existing factory in Dakar. The plant will initially manufacture tile adhesives, grouts,...
For its new 7700 t/d production line in Mangwal/Pakistan Flying Cement Company has placed a major order with FLSmidth. Headlining the range of equipment from FLSmidth is the OK 71-6 Cement Mill, which...
The Chinese branch of the Austrian Starlinger Group has been producing circular looms for plastic fabrics since 2006. In autumn 2018, Starlinger Taicang reached a milestone with the 10000th circular...
Martin Engineering has entered the Middle East market by forging a partnership with German Conveyor Industries LLC, UAE’s experts in the design, installation and maintenance of industrial plants. The...
Intercem has been awarded the contract to supply a high-efficiency separator ICS 143, as well as the associated plant aggregates for a new cement plant in Russia. The high-efficiency separator, an...
Addressing this range of topics, three trade fairs that are also very relevant to our industry have been held in the last few weeks. At the Hannover Messe, the international platform for technologies ...