测试详情页广告位2
Content

Management

Patents

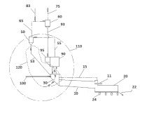
US 2016/0199780 A1

Clean coal stack

(22) 11.03.2016 (43) 14.07.2016 (57) A method and apparatus for cleaning and recycling stack gas from coal-fired power plants, from natural or...

more

Engineering

DYCKERHOFF GMBH

Safety nets protect workers in preheaters

Safety nets make it possible to safely arrest falling debris and assure the safety of the employees working below. An important aspect is the fact that the brakes must be mounted on the exterior of the riser duct. The safety net is also installed in the ...

more
AUCOTEC AG I CLAUDIUS PETERS

Data-base replaces data-islands

Planning and design of large-scale facilities for processing of basic resources is a complex task involving many diverse challenges. The fact that...

more

Materials

Process

ENDRESS+HAUSER MESSTECHNIK GMBH+CO. KG

Focus on energy use

The thermal processes used in the industries which process bulk materials, such as cement production, lime burning, glass-melting, production of...

more

Markets and Trends

ONESTONE CONSULTING S.L.

Upswing in cement in Spain

As Spain’s construction and real estate sectors start to recover from seven years of recession cement demand shows some upswing. However the downturn of the cement industry was so large that it will take many years and special programs to reach ...

more

Plant report

SCHEUCH GMBH | HEIDELBERGCEMENT GROUP

Scheuch demonstrates solution expertise

HeidelbergCement, one of the world’s biggest building materials companies, produces cement in the Czech municipal district of Radotín, Prague. The electrostatic precipitators at the Ceskomoravsky cement plant had to be replaced with bag filters ...

more
WEIMA MASCHINENBAU GMBH | EKOPALIWA CHELM SP.Z.

Polish cement plant relies on Weima

In the eastern Polish town of Chelm, not far from the Ukrainian border, the waste recycling company EkoPaliwa recently successfully commissioned...

more
SIEMENS AG

Smart move

In Indonesia, a collaboration between long-standing partners Indocement Tunggal Prakarsa and Siemens demonstrated how cement production facilities...

more
BEUMER GROUP GMBH & CO. KG

Complex and curved

Cong Thanh, the Vietnamese cement producer, relies on the system solution expertise of the Beumer Group for transporting crushed limestone from the...

more

Products

SKF GMBH

Life-cycle solutions for conveyor installations in the cement industry

Belt conveyor systems in mines, quarries and cement plants operate under the most adverse conditions. The extraction and processing of minerals generate large volumes of extremely abrasive particulates, which can get into machines and contaminate lubricants. This accelerates wear on bearings, seals, gear sprockets, couplings and other rotating parts ...

more

Spotlight

FRANKEN MAXIT GMBH & CO.

Mortar pad production expanded

As of immediately, the Maxit operations base in Azendorf, Upper Franconia, is enjoying an additional new mortar pad production hall and a progressive lime kiln. At the inaugural ceremony on 09.07.2016, Bavarian Economics Minister Ilse Aigner ...

more
Claudius Peters, Buxtehude/Germany (22.11.–23.11.2016)

Packing & Palletizing Open Day

Claudius Peters have expanded their packing and palletizing business in recent years and can now quote more than 250 successfully installed reference...

more

Editorial

Appgrade your knowledge!

For all those who like to read and gather information while on the move, be it by smartphone or tablet, we are now introducing our ZKG International APP. In addition to the contents of the latest issue, you will also find lots of ...

more