The report on the inventory of existing natural gypsum deposits and gypsum raw material areas already secured by state planning in Germany presented at the last Conference of Economics Ministers on...
The focus of this issue of ZKG is environmental technology. This has in fact been a focal point for our industry for many decades already, knowing that the production of cement and lime leaves a ...
(22) 04.01.2021(43) 14.07.2022(57) A method for monitoring a flame of a burner of a lime kiln, comprising imaging a video stream showing the burner end of the lime kiln; extracting at least one image...
(22) 29.09.2021(43) 23.06.2022(57) Provided is a cement clinker manufacturing system with which it is possible to increase the carbon dioxide gas concentration of some exhaust gas and to obtain a gas...
(22) 16.12.2020(43) 23.06.2022(57) A low-energy-consumption carbon-enriched cement production system and a method for producing cement clinker. The system comprises: a raw material preheating and...
(22) 09.12.2021(43) 16.06.2022(57) A method of producing a synthetic carbonated mineral component in a cement manufacturing plant, comprising the steps of providing a carbonatable substance from an...
(22) 07.12.2021(43) 16.06.2022(57) Method of producing clinker form cement raw meal A method of producing clinker from cement raw meal, comprising the steps of: – preheating cement raw meal in a...
(22) 10.12.2021(43) 16.06.2022(57) The application describes an admixture containing a polymer as an agent for fluidifying a cementitious composition comprising: – from 20 to 64 wt% clinker; – from 5...
(22) 01.12.2021(43) 16.06.2022(57) The present invention relates to a method for the thermal treatment of inorganic materials, more particularly for the production of cement clinker, wherein: – at...
(22) 29.04.2020(43) 14.07.2022(57) The use of calcium aluminate cement in autoclaved cement products, cementitious compositions suitable for forming the autoclaved cement products, and methods for...
(22) 14.04.2020(43) 16.06.2022(57) A pretreatment mixing and stirring device, arranged at a stage prior to a slurry formation mixing and stirring device which forms a gypsum slurry by kneading a...
(22) 15.07.2019(45) 21.06.2022(57) Systems and methods to produce a lime hydrate sorbent composition formed of highly reactive lime hydrate (HRH) by adding compounds to the slaking water in a method...
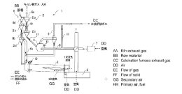
(22) 15.11.2018(43) 06.06.2022(57) Summary of the corresponding patent EP3608667 (A1): In a method for analyzing samples of a gas in a rotary cement kiln by means of two gas sampling probes (1,2),...
(22) 06.07.2021(45) 06.07.2022(57) The present invention discloses a batching device for cement manufacturing. The batching device includes an operation desk. A batching device is disposed above the...
(22) 16.12.2020(43) 24.06.2022(57) The present invention relates to cement clinker, and relates to high chlorine cement clinker having improved burnability by increasing chlorine content and adding...
(22) 15.12.2020(43) 23.06.2022(57) The present invention relates to a method and system for mineralizing carbon dioxide using cement kiln dust, which is a by-product generated in a cement...
(22) 09.10.2021(43) 19.05.2022(57) There is provided high temperature furnaces, calcining, pyrolysis and other high temperature manufacturing processes, composition rearrangements, and equipment....
Cement manufacturers face strict environmental regulations with alternative fuels. This way, they fire calciners and main burners in an efficient and sustainable manner. Beumer Group develops ...
Ten years ago, Scheuch put its first semi-dust scr system into operation at Lafarge in Mannersdorf, Austria’s largest cement plant. Since then, Scheuch, which is based in Upper Austria, has...
The use of biogenic fuels reduces CO2 emissions from PFR lime kilns by around 20%. At first glance, this does not appear to be sufficient to achieve the climate targets. However, this measure can...
Abels & Kemmner and hpossner consulting, two service providers specializing in the building materials sector, have joined forces to form a task force SCM@baustoffe intended to help leading building...
After a postponement due to the Corona pandemic, the next ibausil will take place from September 13 to 15, 2023 in Weimar/Germany. By establishing the International Conference on Building Materials...
From 06-09 December 2022, the National Council for Cement and Building Materials (NCB) is organizing the 17th NCB International Conference on Cement, Concrete and Building Materials at the Manekshaw...
The Arab Union for Cement and Building Materials (AUCBM) is an inter-Arab organization, affiliated to the Council of Arab Economic Unity – League of Arab States and Council of Arab Economic Unity. On...
After six years and a forced absence during the pandemic, the world’s biggest trade fair for the packaging industry and related process industries is up and running again. From May 4 to 10 2023,...
Carbon capture, utilisation and storage (CCUS) technologies are important as well as necessary in meeting the net zero CO2 targets of the cement industry by 2050. Accordingly, projects on carbon...
To get the maximum from limestone at the CMSE – Carrière de Saint-Colombe quarry and produce more valuable fine sand, the French Colas Group employs the BHS rotor impact mill of type RPMF. With this...
For 100 years, the former locksmith and tinsmith workshop has been constantly developing new technologies in order to be able to offer the right equipment to an ever more diverse clientele.In dryers...
Recycling has been experiencing a strong upswing for many years – worldwide. From the very beginning Lindner Recyclingtech has been considered a pioneer, which is why shredding solutions from Spittal...
Not only in times of rising energy prices is energy efficiency one of the most important goals of industry. Highly efficient components from Nord Drivesystems help to reduce the energy consumption of...
Martin Engineering has announced the availability of two rugged secondary conveyor belt cleaners, both engineered for fast and easy maintenance. The innovative design of the DT2S and DT2H reversible...
Anyone who has dealt intensively with the subject of belt misalignment on bulk material handling systems in the past knows the devastating effects. The multitude of solutions in the form of various...
The digital service Premas® 4.0 Predictive Maintenance Solution, which was launched at the beginning of 2021, has already proved its viability in practice in many installations all over the world. The...
What does a company do when it has to shred an unusual kind of material or needs a drive for its shredder that meets very special requirements? These are only two of the problems that Vecoplan solves...
Cemex has announced the plan to expand the production capacity at its subsidiary in Jamaica, Caribbean Cement Company Limited (“CCCL”). This expansion aims for an up to 30% increase in CCCL’s cement...
At the end of June, the Schenck Process Group celebrated the opening of its brand-new office in Jeneč/Czech Republic. Across 1500 m2, the new office space unites the Czech Schenck Process team under...
Canada’s cement industry is leading the way in the fight to tackle climate change by joining the Net-Zero Challenge. The Net-Zero Challenge is a voluntary initiative led by the Government of Canada...
How a material performs is critical to the success of new and updated machinery. Plant owners need to be confident that new materials as well as traditional materials, used in new ways, will function...
Adani, a large company based in Ahmedabad in the state of Gujarat, will in future supply the market in western India with high-quality cement from a Pfeiffer MVR mill through its subsidiary Adani ...
Cemex has announced that it is implementing hydrogen technology at its San Pedro De Macoris cement plant in the Dominican Republic. Fernando A. Gonzalez, CEO of Cemex, was on hand for the project’s...
Titan Cement Group has launched CemAI, Inc. (CemAI), an affiliate company providing the next generation predictive maintenance solution based on Artificial Intelligence for the cement industry. The...
Announcing Dr Yianni (Ioannis) Spanos, Director of Sustainability at KEO International Consultants as Speaker at CarbonZero: Alternative Fuels and Raw Materials Global Conference and Exhibition 2022....
Mondi, a global leader in packaging and paper, opened the group’s first recycling laboratory at its Frantschach mill in Austria to test the recyclability of paper and paper-based packaging using...
HeidelbergCement is further expanding its portfolio of large-scale CCUS projects with a new initiative in the United States. The project at the Mitchell, Indiana, cement plant of HeidelbergCement’s US...
A research project, funded by the European Union, targets the recycling process in the refractory industry. The international initiative, which is part of the Horizon program, could help decreasing...
With its SALCOS program, Salzgitter AG is a pioneer in low-CO2 steel production and has thus taken a leading role in decarbonization. Due to the new low CO2 process route via direct reduction of iron...
Dear Readers, A documentary on television just said that in a survey, companies also answered that with sharply rising energy costs, projects for environmental protection would have to be put ...